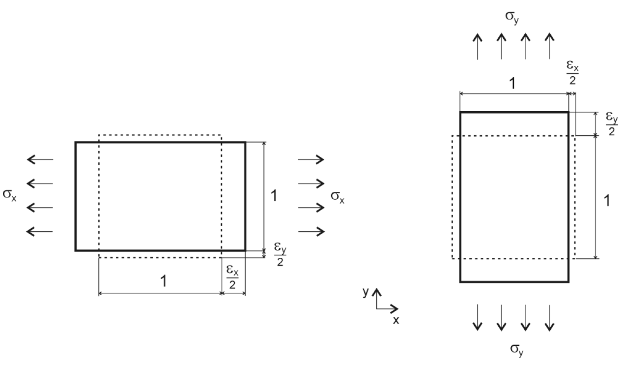
Poissonův součinitel
Poissonův součinitel
1.1.0001
014295
  • RFEM 5
  • RF-LAMINATE
  • Betonové konstrukce
    • Dřevěné konstrukce
    • Mosty
    • Membránové a textilní konstrukce
    • Laminátové a sendvičové konstrukce
    • Statické konstrukce
    • Metoda konečných prvků
    • Eurocode 2
    • Eurocode 5
    • ASCE 7

Poissonův součinitel

Používá se v
  • Ortotropie
Sdílet