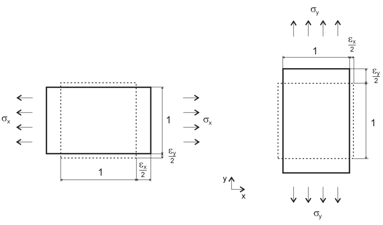
Querdehnung
Querdehnung
1. Januar 0001
014295
  • RFEM 5
  • RF-LAMINATE 5
  • Stahlbetonbau
    • Holzbau
    • Brücken
    • Membran- und Textilbau
    • Laminat- und Sandwichtragwerke
    • Statik und Tragwerksplanung
    • Finite-Elemente-Berechnung
    • Eurocode 2
    • Eurocode 5
    • ASCE 7

Querdehnung

Verwendet in
  • Orthotropie
Teilen