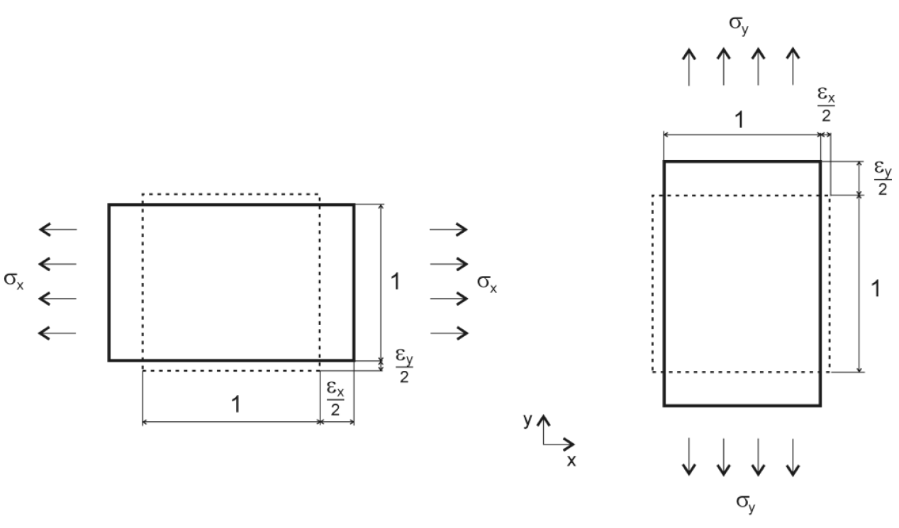
deformazione trasversale
deformazione trasversale
0001-01-01
014295
  • RFEM 5
  • RF-LAMINATE 5
  • Strutture in calcestruzzo
    • Strutture di legno
    • Ponti
    • Tensostrutture e membrane
    • Strutture lamellari e a sandwich
    • Analisi e progettazione strutturale
    • Analisi agli elementi finiti
    • Eurocode 2
    • Eurocode 5
    • ASCE 7

deformazione trasversale

Usato in
  • ortotropia
Condividi