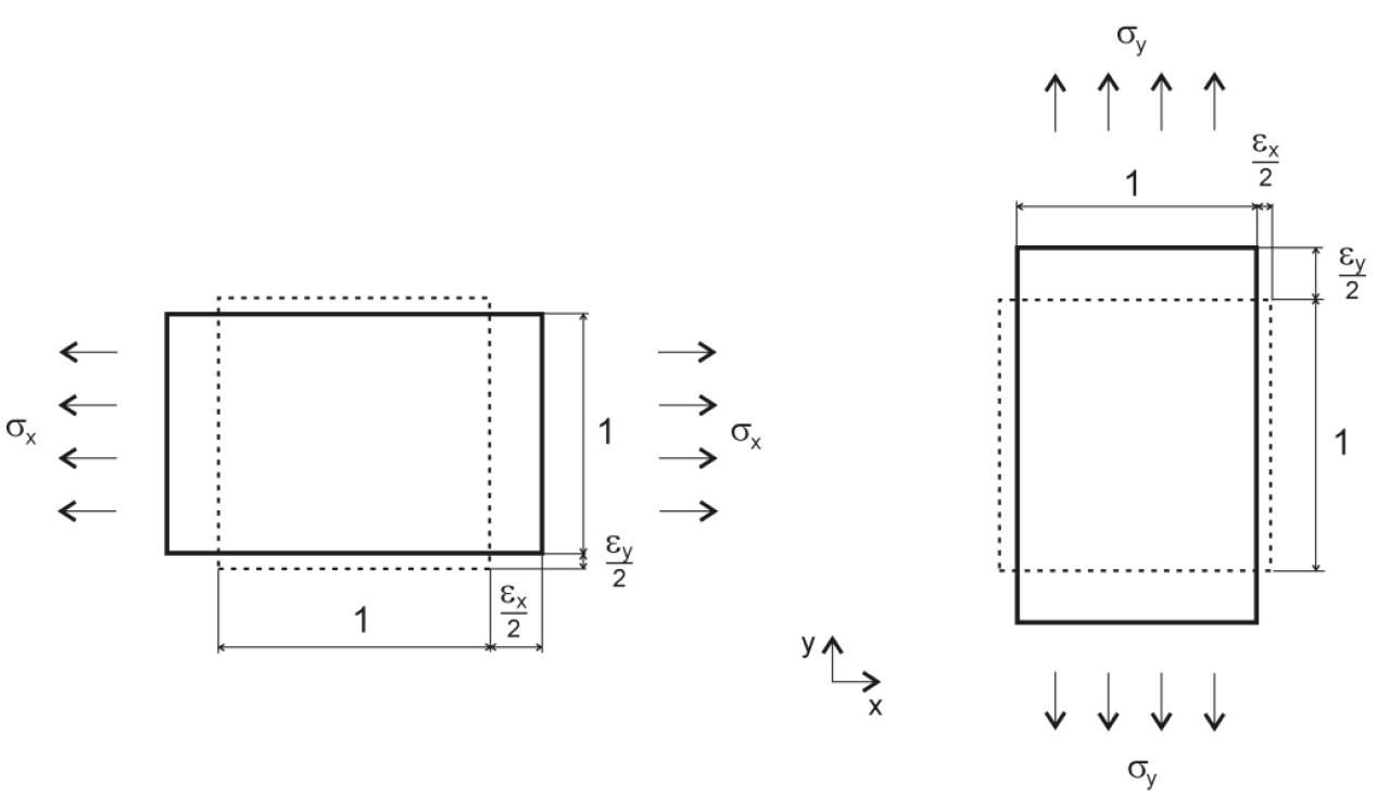
Příčné protažení
Smyková napětí
Systém
  • 3D prohlížeč
  • 3D prohlížeč | Babylon
  • Virtuální realita
Plochy s příslušnými tuhostmi
  • 3D prohlížeč
  • 3D prohlížeč | Babylon
  • Virtuální realita
Výsledky izotropního materiálu
  • 3D prohlížeč
  • 3D prohlížeč | Babylon
  • Virtuální realita
Deformace a podporové reakce u ortotropních desek
  • 3D prohlížeč
  • 3D prohlížeč | Babylon
  • Virtuální realita
Biegemomente der orthotropen Platte mx (links) und my (rechts)
Ergebnisse der Variation gemäß Tabelle (links: νxy = 5,44, uprostřed: νxy = 0, vpravo: νxy = -5,44)
Příčné protažení
Smyková napětí
Systém
Plochy s příslušnými tuhostmi
Výsledky izotropního materiálu
Deformace a podporové reakce u ortotropních desek
Biegemomente der orthotropen Platte mx (links) und my (rechts)
Ergebnisse der Variation gemäß Tabelle (links: νxy = 5,44, uprostřed: νxy = 0, vpravo: νxy = -5,44)
30.5.2024
009183
  • RFEM 5
  • Nelineární výpočet

Příčné protažení

Používá se v
  • Ortotropní materiálové modely
Sdílet
30.5.2024
009184
  • RFEM 5
  • Nelineární výpočet
Smyková napětí
Používá se v
  • Ortotropní materiálové modely
Sdílet
30.5.2024
009185
  • RFEM 5
  • Nelineární výpočet
Systém
Používá se v
  • Ortotropní materiálové modely
3D model
Více o 3D modelu
  • Příklad spojité plochy a nosníku
Specifikace
Počet uzlů 21
Počet linií 23
Počet prutů 2
Počet ploch 3
Počet těles 0
Počet zatěžovacích stavů 1
Počet kombinací zatížení 0
Počet kombinací výsledků 0
Celková hmotnost 111,791 t
Rozměry (metrické) 10,363 x 0,000 x 19,202 m
Rozměry (imperiální) 34 x 0 x 63 feet
Sdílet
30.5.2024
009186
  • RFEM 5
  • Nelineární výpočet
Plochy s příslušnými tuhostmi
Používá se v
  • Ortotropní materiálové modely
3D model
Více o 3D modelu
  • Železobetonová deska s žebrem
Specifikace
Počet uzlů 6
Počet linií 7
Počet prutů 1
Počet ploch 1
Počet zatěžovacích stavů 2
Celková hmotnost 16,500 t
Rozměry (metrické) 6,000 x 5,000 x 0,350 m
Rozměry (imperiální) 19.69 x 16.4 x 1.15 feet
Verze programu 5.25.01
Sdílet
30.5.2024
009187
  • RFEM 5
  • Nelineární výpočet
Výsledky izotropního materiálu
Používá se v
  • Ortotropní materiálové modely
3D model
Více o 3D modelu
  • Železobetonová deska s žebrem
Specifikace
Počet uzlů 6
Počet linií 7
Počet prutů 1
Počet ploch 1
Počet zatěžovacích stavů 2
Celková hmotnost 16,500 t
Rozměry (metrické) 6,000 x 5,000 x 0,350 m
Rozměry (imperiální) 19.69 x 16.4 x 1.15 feet
Verze programu 5.25.01
Sdílet
30.5.2024
009188
  • RFEM 5
  • Nelineární výpočet
Deformace a podporové reakce u ortotropních desek
Používá se v
  • Ortotropní materiálové modely
3D model
Více o 3D modelu
  • Železobetonová deska s žebrem
Specifikace
Počet uzlů 6
Počet linií 7
Počet prutů 1
Počet ploch 1
Počet zatěžovacích stavů 2
Celková hmotnost 16,500 t
Rozměry (metrické) 6,000 x 5,000 x 0,350 m
Rozměry (imperiální) 19.69 x 16.4 x 1.15 feet
Verze programu 5.25.01
Sdílet
30.5.2024
009189
  • RFEM 5
  • Nelineární výpočet
Biegemomente der orthotropen Platte mx (links) und my (rechts)
Používá se v
  • Ortotropní materiálové modely
Sdílet
30.5.2024
009190
  • RFEM 5
  • Nelineární výpočet
Ergebnisse der Variation gemäß Tabelle (links: νxy = 5,44, uprostřed: νxy = 0, vpravo: νxy = -5,44)
Používá se v
  • Ortotropní materiálové modely
Sdílet