20537x
001525
27.6.2018

Ortotropní materiálové modely

Ortotropní materiálové modely se uplatňují všude tam, kde jsou materiály uspořádány podle svého namáhání. Příkladem jsou plasty zesílené vlákny, trapézové plechy, vyztužený beton nebo dřevo.

Pro ortotropní materiály již obvykle používaný Hookův zákon

a není platný.

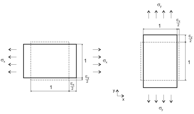
Následující materiálové parametry se vztahují na dvourozměrnou tuhost a, pokud není uvedeno jinak, na materiál dřevo. Jako základ stanovíme lokální osový systém, který je znázorněn na obr. 01.

  • Ex = tuhost v lokálním směru x plochy
  • Ey = tuhost v lokálním směru y plochy
  • Gxz = tuhost ve smyku v lokálním směru x plochy (směr tloušťky desky)
  • Gyz = tuhost ve smyku v lokálním směru y plochy (směr tloušťky desky)
  • Gxy = tuhost ve smyku v rovině desky
  • νxy = příčné protažení ve směru x
  • νyx = příčné protažení ve směru y

Napětí znázorněná na obr. 02 se vztahují k výše uvedeným tuhostem.

Materiálový model stanovuje následující pravidla.

Rovnice 1:

Rovnice 2:

Rovnice 3:

Rovnice 4 (tuhosti v rovině desky):

Poměr protažení ve výše uvedených rovnicích podtrhuje vztahy na obr. 01.

Tuhosti v rovině desky se vypočítají následovně.

Rovnice 5:

Příčné protažení ν

Jak je již zřejmé z obrázku 01, vlivem měkčích vlastností materiálu v daném směru se mění deformace a napětí v příslušném směru.

Poměr protažení:

Rovnice 6:

Rovnice 7:

Krátký dotaz - rychlá odpověď:

z toho plynou následující rovnice podle Hookova zákona.

Rovnice 8:

Rovnice 9:

Rovnice 10:

Rovnice 11:

Rovnice 12:

Rovnice 13:

Matice tuhosti

Výpočet globální matice tuhosti desky

Rovnice 14:

Ohybové složky:

Rovnice 15:

Rovnice 16:

Rovnice 17:

Rovnice 18:

Membránové složky:

Rovnice 19:

Rovnice 20:

Rovnice 21:

Rovnice 22:

Smykové složky:

Rovnice 23:

Rovnice 24:

Předpokladem platnosti těchto rovnic je samozřejmě kladná matice tuhosti, tj. všechna vlastní čísla matice jsou kladná.

RFEM proto mimo jiné ověří zadání příčného protažení pomocí následující rovnice.

Rovnice 25:

Příklad použití

Na následujícím příkladu (obr. 03) si vysvětlíme ortotropní chování materiálu. Porovnáme přitom ortotropní materiál s izotropním materiálem. U ortotropní desky navíc zadáme vysokou tuhost jednou ve směru x a podruhé ve směru y.

Konstrukce:

  • Tloušťka desky 200 mm
  • Materiál C24
  • Ortotropní tuhosti
  • Izotropní tuhosti
  • Rozměry b = 2,0 m, l = 4,0 m
  • Zatížení 20 kN/m²
  • Velikost sítě konečných prvků 50 cm

Podepření konstrukce zamezuje posunu ve svislém směru z. Podporové podmínky ve směru x a y byly zvoleny tak, aby nedocházelo k žádným vynuceným přetvořením.

Výpočet proběhne podle teorie prvního řádu se zohledněním lineárně pružného chování materiálu a příslušných podporových podmínek.

Podle Hookova zákona se pro zadané hodnoty stanoví následující příčné protažení.

Rovnice 26:

Takto vysoké příčné protažení není v případě zvoleného materiálového modelu možné. Pomocí rovnic z [1] lze ovšem hodnoty upravit.

Rovnice 27:

Rovnice 28:

Rovnice 29:

Rovnice 30:

Výsledky:
Podle očekávání vycházejí největší výsledné deformace, pokud jsou tuhosti orientovány ve směru y (obr. 06). Podporové reakce a moment v izotropní desce jsou znázorněny na obr. 05.

Vzhledem k tomu, že deska s vysokou tuhostí ve směru y (Ey = 1100 kN/cm²) vykazuje v tomto směru vysokou únosnost, jsou tu také reakce vyšší (125,4 kNm ku 58,3 kNm).

Maximální ohybové momenty jsou u ortotropních desek obdobné v případě mx s tuhostí ve směru x a v případě my s vyšší tuhostí ve směru y.

Deska s vysokou tuhostí ve směru y vykazuje maximální ohybový moment my téměř ve svém středu (obr. 07).

Variabilita příčného protažení

Příčné protažení může podle vztahů pro přetvoření u materiálu s pevností C24 dosahovat maximálních a minimálních hodnot uvedených v tabulce.

 Max.Min.
νxy5,447-5,447
νyx0,183-0,183

První definovaná deska s vysokou tuhostí (Ex = 11 000) se proto zadá s danými vysokými hodnotami příčného protažení. Ostatní tuhosti ovšem u desky zůstávají beze změny.

Na obr. 08 jsou uvedeny výsledky pro rozsah νxy od 5,44 do -5,44 .

V případě νxy = 5,44 reakce kvalitativně odpovídají izotropnímu chování materiálu. Ohybový moment roste od mx = 18,1 kNm/m (izotropní deska) do mx = 34,9 kNm/m (ortotropní deska).

Oproti ortotropní desce s obvyklým příčným protažením (νxy = 2,5) se ohybový moment lehce snižuje.

Při νxy = 0 se vysoká hodnota podporové reakce na volném konci desky rozloží do konstatní hodnoty 43 kN/m.

Moment mx se zvýší na 38,1 kNm/m. Ve srovnání s předchozím výsledkem (νxy =5,44) se tu projevuje vliv příčného protažení. Při ν =0 nevzniká žádná deformace ani přetvoření v důsledku příčného protažení.

V případě νxy = -5,44 dochází k porušení na volném konci desky a podporové reakce přecházejí do záporných hodnot. Maximální moment, který dosahuje 59,5 kNm/m, lze pozorovat ve středu desky.

Deska se nyní chová spíše jako deska nosná v jednom směru bez třetí podpory ve svém podélném směru.

Na obr. 01 a zde znázorněných vztazích si můžeme toto chování vysvětlit.

Kvůli vysokému zápornému příčnému protažení (νxy = -5,44) je deska na volném okraji zcela přetížena, a nemůže se proto deformovat.

Vliv ortotropie ve směru y je přitom téměř nulový (Ey ≈ 0).

Shrnutí

Ortotropní materiálový model v programu RFEM umožňuje zadat takřka libovolné parametry materiálů. V důsledku variability příčného protažení můžeme dosáhnout značně odlišných výsledků. Příčné protažení po úpravě hodnot podle [1] vede k hodnotám, které se blíží řešení u prostého nosníku.

Rovnice 31:

Příliš vysoká záporná příčná protažení poukazují na upravený statický systém, který již neodpovídá příslušnému modelu.


Autor

Bastian je v Product Engineering zodpovědný za vývoj a zajišťování kvality v dřevěných konstrukcích a je navíc aktivní v Customer Support. Jeho zkušenosti se přímo promítají do zpracování praktických otázek.

Odkazy
Reference
Stahování


;