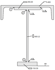
Träger
Träger
30. Mai 2024
009452
  • DUENQ 8
  • Stahlbau
  • Stahlverbindungen
    • Eurocode 3

Träger

Verwendet in
  • Nachweis von Kehlnähten nach EN 1993-1-8
Teilen