52906x
001469
17. August 2017

Nachweis von Kehlnähten nach EN 1993-1-8

Die Kehlnaht ist die im Stahlhochbau am weitaus häufigsten vorkommende Nahtform. Gemäß EN 1993-1-8, 4.3.2.1 (1) [1] dürfen Kehlnähte für die Verbindung von Bauteilen verwendet werden, wenn die Flanken einen Öffnungswinkel von 60° bis 120° bilden.

Die wirksame Nahtdicke a einer Kehlnaht ist in der Regel als die bis zum theoretischen Wurzelpunkt gemessene Höhe des einschreibbaren (gleichschenkligen oder nicht gleichschenkligen) Dreiecks anzunehmen, siehe Bild 01.

Tragfähigkeit von Kehlnähten

Die Tragfähigkeit von Kehlnähten ist gemäß 1993-1-8 [1] in der Regel mit dem richtungsbezogenen Verfahren oder mit dem vereinfachten Verfahren zu ermitteln. Das richtungsbezogene Verfahren wird nachfolgend dargestellt.

Die einwirkende Spannung wird gleichmäßig über den Nahtquerschnitt verteilt angenommen und führt, wie in Bild 02 dargestellt, zu folgenden Normal- und Schubspannungen:

  • σ Normalspannung senkrecht zur Schweißnahtachse
  • σ|| Normalspannung parallel zur Schweißnahtachse
  • τ Schubspannung (in der Ebene der Kehlnahtfläche) senkrecht zur Schweißnahtachse
  • τ|| Schubspannung (in der Ebene der Kehlnahtfläche) parallel zur Schweißnahtachse

Bei der Bestimmung der Beanspruchbarkeit der Kehlnaht werden die Normalspannungen σ|| parallel zur Schweißnahtachse vernachlässigt.

Die Tragfähigkeit einer Kehlnaht ist ausreichend, wenn die folgenden Bedingungen erfüllt sind:

Dabei ist
fu die Zugfestigkeit des schwächeren der angeschlossenen Bauteile,
βw der Korrelationsbeiwert (siehe EN 1993-1-8, Tabelle 4.1),
γM2 der Teilsicherheitsbeiwert für die Beanspruchbarkeit von Schweißnähten.

Beispiel

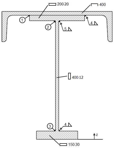
Nachweis der Kehlnähte des im Bild 03 dargestellten Trägers aus [2].

Material: S235, fu = 36,0 kN/cm², βw = 0,8
Schnittgrößen: Vz = 350 kN

Schwerpunkt

Trägheitsmoment
Bezogen auf die Schwerachse beträgt das Trägheitsmoment:

Statische Momente
Bezogen auf die Schwerachse werden die statischen Momente für die mittels der Nähte➀, ➁ und ➂ angeschlossenen Querschnittsteile berechnet:
Sy,1 = A1 ∙ (zS,1 - zS) = 91,48 ∙ (43,72- 30,88) = 1.175 cm³
Sy,2 = Sy,1 + A2 ∙ (zS,2 - zS)= 1175 + 40,00 ∙ (44,00 - 30,88) = 1.700 cm³
Sy,3 = A3 ∙ (zS - zS,3) = 45,00 ∙ (30,88- 1,50) = 1.322 cm³

Nachweis der Schweißnähte

DUENQ
In DUENQ können die Schubspannung (in der Ebene der Kehlnahtfläche) parallel zur Schweißnahtachse τ|| an Kehlnähten berechnet und die Tragfähigkeit nachgewiesen werden. Bei der Modellierung ist zu beachten, dass die Schweißnaht an den Kanten von zwei Elementen angeschlossen sein muss. Eines dieser Elemente kann auch ein Nullelement darstellen.

In Spalte H "Durchlaufendes Element" der Tabelle 1.6 Schweißnähte können die durchlaufenden Elemente festgelegt werden. An diesen Elementen werden keine Schweißnahtspannungen berechnet. Wird in Spalte H kein Element angegeben, so werden die Schweißnahtspannungen an allen Elementen bestimmt, an den die Schweißnaht angeschlossen ist. Diese Elemente können der Spalte B "Elemente Nr." entnommen werden.

In Bild 04 ist die Schweißnahtdefinition für das behandelte Beispiel dargestellt.

Die Tabelle 5.1 Schweißnahtspannungen gibt die Spannungen τ|| für die Schweißnähte aus, die in der Tabelle 1.6 Schweißnähte definiert wurden. Bild 05 zeigt die Schweißnahtspannungen für das behandelte Beispiel.

Literatur

[1] Eurocode 3: Bemessung und Konstruktion von Stahlbauten - Teil 1-8: Bemessung vonAnschlüssen; EN 1993-1-8:2005 + AC:2009
[2] Petersen, C.: Stahlbau, 4. Auflage. Wiesbaden: Springer Vieweg, 2013

Autor

Frau von Bloh bietet im Kundensupport Hilfestellung für unsere Anwender und ist zudem für die Entwicklung des Programms RSECTION sowie für den Stahl- und Aluminiumbau zuständig.

Links
Referenzen
Downloads


;