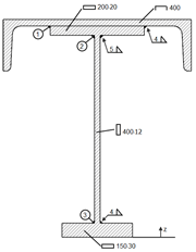
Beam
Beam
2024-05-30
009452
  • SHAPE-THIN 8
  • Steel Structures
  • Steel Connections
    • Eurocode 3

Beam

Used in
  • Design of Fillet Welds According to EN 1993-1-8
Share