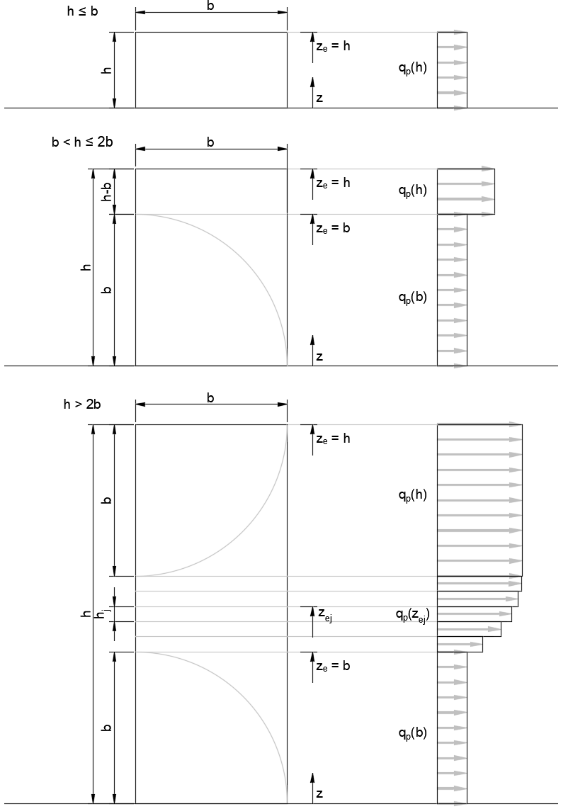
Böengeschwindigkeitsdruckverteilung über die Höhe
Böengeschwindigkeitsdruckverteilung über die Höhe
30-05-2024
009019
  • RFEM 5
  • RSTAB 8
  • RX-TIMBER Glued-Laminated Beam 2
    • RX-TIMBER Roof 2
    • RX-TIMBER Continuous Beam 2
    • RX-TIMBER Purlin 2
    • RX-TIMBER Frame 2
    • RX-TIMBER Column 2
    • RX-TIMBER Brace 2
    • Estructuras de hormigón
    • Estructuras de acero
    • Estructuras de madera
    • Edificios
    • Análisis y dimensionamiento de estructuras
    • Eurocode 0
    • Eurocode 1

Böengeschwindigkeitsdruckverteilung über die Höhe

Usado en
  • Cargas de viento en cubiertas a un agua y a dos aguas en Alemania
Compartir