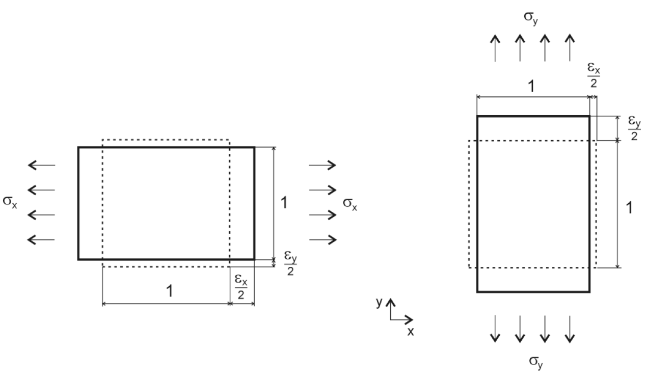
deformazione trasversale
tensioni tangenziali
Sistema
  • Visualizzatore 3D
  • 3D Viewer | Babylon
  • Realtà virtuale
Superfici con rigidezze
  • Visualizzatore 3D
  • 3D Viewer | Babylon
  • Realtà virtuale
Risultati materiale isotropo
  • Visualizzatore 3D
  • 3D Viewer | Babylon
  • Realtà virtuale
Deformazioni e reazioni vincolari di placche ortotropiche
  • Visualizzatore 3D
  • 3D Viewer | Babylon
  • Realtà virtuale
Biegemomente der orthotropen Platte mx (links) und my (rechts)
Ergebnisse der Variation gemäß Tabelle (links: νxy = 5,44, Centro: νxy = 0, a destra: νxy = -5,44)
deformazione trasversale
tensioni tangenziali
Sistema
Superfici con rigidezze
Risultati materiale isotropo
Deformazioni e reazioni vincolari di placche ortotropiche
Biegemomente der orthotropen Platte mx (links) und my (rechts)
Ergebnisse der Variation gemäß Tabelle (links: νxy = 5,44, Centro: νxy = 0, a destra: νxy = -5,44)
2024-05-30
009183
  • RFEM 5
  • Analisi non-lineare

deformazione trasversale

Usato in
  • Leggi dei materiali ortotropi
Condividi
2024-05-30
009184
  • RFEM 5
  • Analisi non-lineare
tensioni tangenziali
Usato in
  • Leggi dei materiali ortotropi
Condividi
2024-05-30
009185
  • RFEM 5
  • Analisi non-lineare
Sistema
Usato in
  • Leggi dei materiali ortotropi
Modello 3D
Ulteriori informazioni sul modello 3D
  • Esempio di superficie continua e trave continua
Specifiche
Numero di nodi 21
Numero di linee 23
Numero di aste 2
Numero di superfici 3
Numero di solidi 0
Numero di casi di carico 1
Nr. di combinazioni di carico 0
Nr. di combinazioni di risultati 0
Peso totale 111,791 t
Dimensioni (metriche) 10.363 x 0.000 x 19.202 m
Dimensioni (imperiali) 34 x 0 x 63 feet
Condividi
2024-05-30
009186
  • RFEM 5
  • Analisi non-lineare
Superfici con rigidezze
Usato in
  • Leggi dei materiali ortotropi
Modello 3D
Ulteriori informazioni sul modello 3D
  • Piastra in cemento armato con nervatura
Specifiche
Numero di nodi 6
Numero di linee 7
Numero di aste 1
Numero di superfici 1
Numero di casi di carico 2
Peso totale 16,500 t
Dimensioni (metriche) 6.000 x 5.000 x 0.350 m
Dimensioni (imperiali) 19.69 x 16.4 x 1.15 feet
Versione del programma 5.25.01
Condividi
2024-05-30
009187
  • RFEM 5
  • Analisi non-lineare
Risultati materiale isotropo
Usato in
  • Leggi dei materiali ortotropi
Modello 3D
Ulteriori informazioni sul modello 3D
  • Piastra in cemento armato con nervatura
Specifiche
Numero di nodi 6
Numero di linee 7
Numero di aste 1
Numero di superfici 1
Numero di casi di carico 2
Peso totale 16,500 t
Dimensioni (metriche) 6.000 x 5.000 x 0.350 m
Dimensioni (imperiali) 19.69 x 16.4 x 1.15 feet
Versione del programma 5.25.01
Condividi
2024-05-30
009188
  • RFEM 5
  • Analisi non-lineare
Deformazioni e reazioni vincolari di placche ortotropiche
Usato in
  • Leggi dei materiali ortotropi
Modello 3D
Ulteriori informazioni sul modello 3D
  • Piastra in cemento armato con nervatura
Specifiche
Numero di nodi 6
Numero di linee 7
Numero di aste 1
Numero di superfici 1
Numero di casi di carico 2
Peso totale 16,500 t
Dimensioni (metriche) 6.000 x 5.000 x 0.350 m
Dimensioni (imperiali) 19.69 x 16.4 x 1.15 feet
Versione del programma 5.25.01
Condividi
2024-05-30
009189
  • RFEM 5
  • Analisi non-lineare
Biegemomente der orthotropen Platte mx (links) und my (rechts)
Usato in
  • Leggi dei materiali ortotropi
Condividi
2024-05-30
009190
  • RFEM 5
  • Analisi non-lineare
Ergebnisse der Variation gemäß Tabelle (links: νxy = 5,44, Centro: νxy = 0, a destra: νxy = -5,44)
Usato in
  • Leggi dei materiali ortotropi
Condividi