20537x
001525
2018-06-27

Leggi dei materiali ortotropi

Le leggi dei materiali ortotropi sono utilizzate ovunque i materiali siano disposti in base al loro carico. Gli esempi includono plastica fibrorinforzata, lamiere trapezoidali, cemento armato e legno.

La legge di Hooke è solitamente inclusa per i materiali ortotropi

o non è più valido.

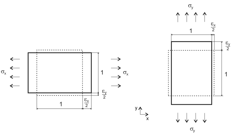
I seguenti parametri del materiale si riferiscono alle rigidezze bidimensionali e, se non diversamente indicato, al materiale del legno. La base è un sistema di assi locale, come mostrato nella Figura 01.

  • Ex = rigidezza nella direzione x locale della superficie
  • E y = rigidezza nella direzione locale y della superficie
  • Gxz = rigidezza a taglio nella direzione x locale della superficie (direzione dello spessore della piastra)
  • Gyz = rigidezza a taglio nella direzione locale y della superficie (direzione dello spessore della piastra)
  • Gxy = area nel piano di rigidezza a taglio
  • νxy = deformazione trasversale in direzione x
  • νyx = deformazione trasversale in direzione y

Le tensioni nella Figura 02 sono relative alle rigidezze qui menzionate.

La legge materiale è soggetta alle seguenti regole.

Equazione 1:

Equazione 2:

Equazione 3:

Equazione 4 (rigidezze nell'area nel piano):

Il rapporto delle deformazioni nelle equazioni sopra menzionate sottolinea le relazioni nella Figura 01.

Le rigidezze nell'area nel piano sono calcolate come segue.

Equazione 5:

Deformazione trasversale ν

Come spiegato nella Figura 01, le deformazioni e le tensioni modificate in questa direzione risultano dal comportamento più liscio del materiale nella rispettiva direzione.

Rapporto delle deformazioni:

Equazione 6:

Equazione 7:

Per

le seguenti equazioni risultano con la legge di Hooke.

Equazione 8:

Equazione 9:

Equazione 10:

Equazione 11:

Equazione 12:

Equazione 13:

Matrice di rigidezza

Calcolo della matrice di rigidezza globale della piastra.

Equazione 14:

Componenti piegati:

Equazione 15:

Equazione 16:

Equazione 17:

Equazione 18:

Componenti della membrana:

Equazione 19:

Equazione 20:

Equazione 21:

Equazione 22:

Componenti di taglio:

Equazione 23:

Equazione 24:

Un prerequisito per queste equazioni è che la matrice di rigidezza sia definita positiva, cioè che tutti gli autovalori della matrice siano positivi.

Per questo motivo, RFEM verifica, tra le altre cose, la definizione della deformazione trasversale secondo la seguente equazione.

Equazione 25:

Esempio

Il comportamento del materiale ortotropo sarà spiegato con il seguente esempio (Figura 03). Un materiale ortotropo sarà confrontato con un materiale isotropo. Inoltre, la rigidezza della piastra ortotropa sarà definita con l'elevata rigidezza nella direzione x e nella direzione y.

Struttura:

  • Spessore piastra 200 mm
  • Materiale C 24
  • Rigidezze ortotrope
  • Rigidezze isotrope
  • Dimensione w = 2,0 m, l = 4,0 m
  • Carico 20 kN/m²
  • Dimensione della maglia EF 50 cm

La struttura è vincolata rigidamente in direzione z verticale. Le condizioni del vincolo esterno nelle direzioni x e y sono state selezionate in modo tale che non si verifichino effetti dovuti al vincolo.

Il calcolo viene eseguito secondo l'analisi statica lineare con il comportamento elastico lineare del materiale e le condizioni del vincolo esterno.

La seguente deformazione trasversale risulta dalla legge di Hooke, insieme ai valori dati.

Equazione 26:

Questa elevata deformazione trasversale è impossibile con il modello di materiale selezionato. Con le equazioni da [1] , i valori possono, tuttavia, essere modificati.

Equazione 27:

Equazione 28:

Equazione 29:

Equazione 30:

Risultati:
Come previsto, le deformazioni maggiori si verificano con l'orientamento delle rigidezze nella direzione y (Figura 06). La reazione del vincolo esterno e il momento della piastra isotropa sono visualizzati nella Figura 05.

Poiché la piastra con un'elevata rigidezza nella direzione y (Ey = 1.100 kN/cm²) ha un'elevata resistenza in questa direzione, anche le reazioni del vincolo esterno sono più elevate (125,4 kNm rispetto a 58,3 kNm).

I momenti flettenti massimi risultanti per le piastre ortotrope sono uguali a mx con la rigidezza in direzione x e per my con un'elevata rigidezza in direzione y.

Per la piastra con elevata rigidezza in direzione y, il momento flettente massimo my è quasi al centro della piastra (Figura 07).

Variazione della deformazione trasversale

La deformazione trasversale secondo i diagrammi di deformazione può raggiungere i valori massimo e minimo elencati nella tabella per un materiale di resistenza C24.

 Max.Min.
νxy5,447-5,447
νyx0,183-0,183

La piastra introdotta all'inizio con l'elevata rigidezza (Ex = 11.000) sarà definita con queste elevate deformazioni trasversali per questo scopo. Le altre rigidezze della piastra, tuttavia, rimangono invariate.

La Figura 08 mostra i risultati della variazione di νxy = da 5,44 a -5,44.

Per νxy = 5.44, le reazioni del vincolo esterno sono qualitativamente identiche al comportamento isotropo del materiale. Il momento flettente aumenta da mx = 18,1 kNm/m (piastra isotropa) a mx = 34,9 kNm/m (piastra ortotropa).

Rispetto alla piastra ortotropa con deformazioni trasversali comuni (νxy = 2.5), il momento flettente è leggermente ridotto.

Con νxy = 0, l'ampiezza elevata della reazione vincolare all'estremità libera della piastra viene spostata a un valore costante di 43 kN/m.

Il momento mx aumenta a 38,1 kNm/m. Rispetto al risultato precedente (νxy =5.44), qui è mostrata l'influenza della deformazione trasversale. Per ν =0, nessuna deformazione o distorsione è causata dalla deformazione trasversale.

Per νxy = -5.44, viene mostrata una rottura post-critica all'estremità libera della piastra e le reazioni del vincolo diventano negative. Il momento massimo si verifica al centro della piastra con 59,5 kNm/m.

La piastra ora si comporta più di una piastra sollecitata uniassiale, senza il terzo vincolo in direzione longitudinale.

Questo comportamento può essere spiegato con la Figura 01 e la relazione qui elencata.

A causa dell'elevata deformazione trasversale negativa (νxy = -5.44), la piastra è completamente sovrapressata sul bordo libero e quindi non può essere deformata.

L'influenza dell'ortotropia nella direzione y è quasi nulla qui (Ey ≈ 0).

Conclusione

Quasi tutti i parametri dei materiali possono essere definiti con il modello di materiale ortotropo in RFEM. Risultati molto diversi sono possibili con la variazione delle deformazioni trasversali. Una deformazione trasversale dopo la modifica dei valori secondo [1] risulta in valori che si trovano vicini alla soluzione per una trave a campata singola.

Equazione 31:

Deformazioni trasversali negative eccessivamente elevate mostrano un sistema strutturale modificato che non corrisponde più alla modellazione.


Autore

Bastian è responsabile nello sviluppo prodotto dell’engineering e dell’assicurazione della qualità nell’ingegneria del legno ed è inoltre attivo nel supporto clienti. La sua esperienza confluisce direttamente nell’elaborazione di questioni pratiche.

Link
Bibliografia
Download


;