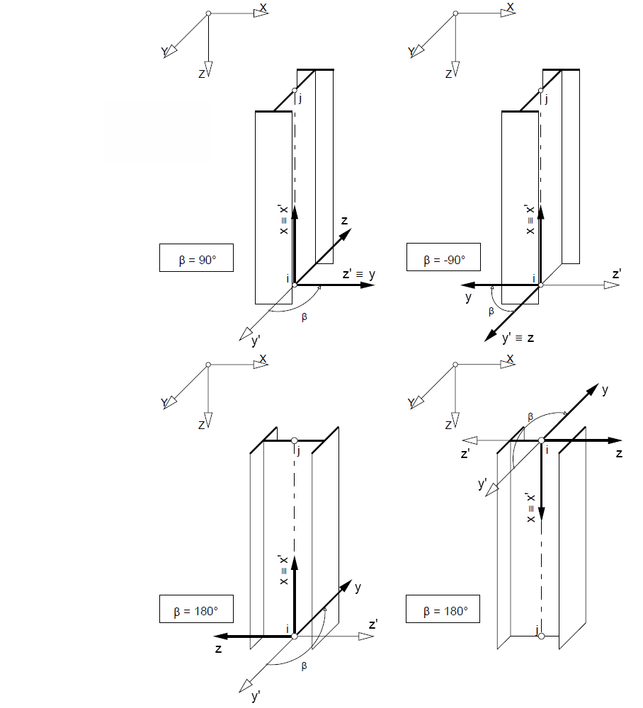
Stab in vertikaler Lage mit Stabdrehwinkel von ±90° und 180°
Stab in vertikaler Lage mit Stabdrehwinkel von ±90° und 180°
2024-05-30
009539
  • RFEM 5
  • RSTAB 8

Stab in vertikaler Lage mit Stabdrehwinkel von ±90° und 180°

Utilizado em
  • ângulo de rotação da barra
Partilhar