用于正常熔深(a)和深熔(b)的角焊缝厚度a
角焊缝焊缝截面的焊缝应力
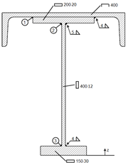
梁
表1.6焊缝
表5.1焊缝应力
用于正常熔深(a)和深熔(b)的角焊缝厚度a
角焊缝焊缝截面的焊缝应力
梁
表1.6焊缝
表5.1焊缝应力
2024-05-30
009450
  • SHAPE-THIN 8
  • 钢结构
  • 钢结构节点连接
    • Eurocode 3

对于不同的熔深,角焊缝厚度a。 角焊缝厚度a基本熔透b

用于正常熔深(a)和深熔(b)的角焊缝厚度a

用于
  • 角焊缝的设计符合EN 1993-1-8
分享
2024-05-30
009451
  • SHAPE-THIN 8
  • 钢结构
  • 钢结构节点连接
    • Eurocode 3
角焊缝焊缝截面的焊缝应力
用于
  • 角焊缝的设计符合EN 1993-1-8
分享
2024-05-30
009452
  • SHAPE-THIN 8
  • 钢结构
  • 钢结构节点连接
    • Eurocode 3
梁
用于
  • 角焊缝的设计符合EN 1993-1-8
分享
2024-05-30
009453
  • SHAPE-THIN 8
  • 钢结构
  • 钢结构节点连接
    • Eurocode 3
表1.6焊缝
用于
  • 角焊缝的设计符合EN 1993-1-8
分享
2024-05-30
009454
  • SHAPE-THIN 8
  • 钢结构
  • 钢结构节点连接
    • Eurocode 3
表5.1焊缝应力
用于
  • 角焊缝的设计符合EN 1993-1-8
分享