52827x
001469
2017-08-17

角焊缝的设计符合EN 1993-1-8

角焊缝是钢结构建筑中最常见的焊缝类型。 Gemäß EN 1993-1-8, 4.3.2.1 (1) [1] dürfen Kehlnähte für die Verbindung von Bauteilen verwendet werden, wenn die Flanken einen Öffnungswinkel von 60° bis 120° bilden.

角焊缝的有效焊缝厚度a a应为与熔接面和焊缝面内可接的最大三角形的高度,该三角形垂直于该三角形的外侧进行测量。见图01。

角焊缝的设计承载力

根据 1993-1-8 [1] ,角焊缝的设计承载力通常使用方向法或简化法来确定。 方向法的内容如下。

假设焊缝截面处应力均匀,得出如图02所示的正应力和剪应力,如下:

  • σ⊥垂直于焊缝轴的正应力
  • σ||平行于焊缝轴的正应力
  • 垂直于焊缝轴的剪应力τ角(在角焊缝表面)
  • τ||平行于焊缝轴的剪应力(在角焊缝平面上)

正应力σ||在验证角焊缝的设计承载力时不考虑与轴平行的方向。

如果满足以下条件,则角焊缝的设计承载力足够:

值:
fu是连接的较弱部分的名义最终拉应力,
βw是合适的相关系数(见EN 1993‑1‑8,表格4.1)
γM2是焊缝承载力的分项系数。

示例

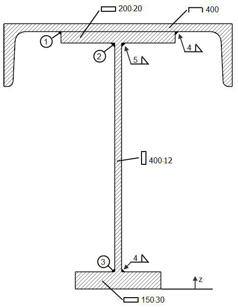
[2]中图03中所示的梁的角焊缝设计。

材料: S235,fu = 36.0 kN/cm²,βw = 0.8
内力: Vz = 350 kN

重心

惯性矩
关于重心,惯性矩为:

静矩
关于重心,连接截面的静矩通过焊缝 ➀、➁ 和 ➂ 计算:
Sy,1 = A1 ∙(zS,1 -zS )= 91.48∙(43.72- 30.88)= 1,175cm³
Sy,2 = Sy,1 + A2 ∙(zS,2 -zS )= 1175 + 40.00∙(44.00 -30.88)= 1,700cm³
Sy,3 = A3 ∙(zS -zS,3 )= 45.00∙(30.88- 1.50)= 1,322cm³

Weld design

SHAPE-THIN
在SHAPE-THIN中,平行于焊缝轴τ||的剪应力(在角焊缝平面上)可以对角焊缝进行计算,并且可以计算承载力。 建模时,焊缝必须连接两个单元的边缘。 这些单元中的一个也可以是虚拟单元。

在表1.6焊缝的H列“连续单元”中,可以定义连续单元。 没有为这些单元计算焊缝应力。 如果在H列中没有定义单元,那么对所有与焊缝连接的单元求应力。 这些单元可以从B列“单元编号”中获取。

图04中显示了该示例示例的焊缝定义。

表5.1焊缝显示了应力T||| 。用于在表1.6焊缝中定义的焊缝。 图05中的缝焊缝应力是本文中介绍的计算示例。

使用的文献材料

[1] 欧洲规范3: 钢结构设计 -第1-8部分: 节点设计EN 1993‑1‑8:2005 + AC:2009
[2] Petersen,C。(1982)。 Stahlbau,4th ed。)。 威斯巴登: Springer Vieweg,2013

作者

von Bloh 女士为我们的客户提供技术支持,负责 SHAPE-THIN 软件的开发,以及钢结构和铝合金结构的开发。

链接
参考
下载


;