21131x
001413
2017-03-20

Расчет осадки отдельных фундаментов по норме DIN 4019 в RF-/FOUNDATION Pro

Для расчета предельного состояния по пригодности к эксплуатации в соответствии с разделом 6.6 Еврокода EN 1997-1, необходимо рассчитать осадку фундаментных оснований. In RF-/FUND Pro wurde die Setzungsberechnung für ein Einzelfundament ermöglicht. Dabei kann zwischen der Setzungsberechnung für ein schlaffes oder starres Fundament gewählt werden. Durch die Definition eines Bodenprofils ist die Berücksichtigung mehrerer Bodenschichten unter der Fundamentsohle möglich. Die Ergebnisse der Setzung, Fundamentverkantung und der vertikalen Sohlspannungsverteilung sind sowohl grafisch als auch tabellarisch aufbereitet und verschaffen so einen schnellen Überblick über die durchgeführte Berechnung. Zusätzlich zum Nachweis der Fundamentsetzung in RF-/FUND Pro werden die repräsentativen Federkonstanten für das Auflager in der statischen Berechnung bestimmt und können auf Wunsch in das statische Modell von RFEM oder RSTAB exportiert werden.

Общие сведения

Общая осадка stot на грунте, вызванная нагрузками на конструкцию, состоит из компонентов: немедленной осадки s0 , осадки уплотнения s1 и зависящей от времени осадки при ползучести s2.

stot = s0 + s1 + s2 = s + s2

Согласно DIN 4019 [2] , описанный ниже метод включает в себя особую настройку «s», состоящую из обеих составляющих осадки - осадки, вызванной консолидацией, и осадки, вызванной ползучестью (вторичная осадка). На рисунке 1 графически показаны нестационарные компоненты осадки. В этом случае время t0 представляет собой период до полной консолидации.

Расчет осадки с использованием вертикальных напряжений на грунте

Описанный ниже метод расчета осадки основан на модели упругого изотропного однородного полупространства. Этот расчетный подход может быть применен также для осадки грунта основания в несколько слоев.

Для определения осадки необходимо разделить грунт на полосы и определить вертикальные напряжения грунта под основанием фундамента. На основе анализа эластичности для каждой полосы определяются конкретные осадки si ; затем они складываются, чтобы получить общую осадку s.


где
Δσz, i = дополнительная осадка, вызывающая напряжение в полосе i
ES, i = модуль жесткости полосы i
Δzi = толщина полосы i

Определение вертикальных напряжений грунта

Во-первых, расчет осадки требует определения вертикальных напряжений грунта. Расчет напряжения и осадки основан на модели упругого изотропного полупространства. Соответствующие напряжения можно различить в зависимости от их причины следующим образом:
σили = напряжение грунта, вызванное собственным весом грунта
σz = напряжение, вызванное нагрузкой на конструкцию
σz, i = напряжение, вызванное структурной нагрузкой в полосе i

Вертикальные напряжения грунта σz из-за дополнительной нагрузки на глубине z можно рассчитать на основе подхода Буссинеска [3] и принципа суперпозиции.

Согласно Буссинеску, вертикальное напряжение на грунт, вызванное вертикальной сосредоточенной нагрузкой V, рассчитывается на поверхности полупространства, как показано на рисунке 2.

Вертикальные напряжения грунта на глубине z под угловой точкой равномерного «упругого» прямоугольного напряжения σz можно определить по рисунку 3.

Коэффициент влияния напряжений iR может быть определен из соответствующих номограмм, например, из DIN 4019 [2].

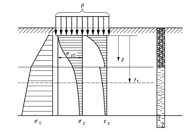
Применяя вышеупомянутый подход, вы получите результат распределения вертикальных напряжений грунта на грунте под фундаментом, который условно представлен на рисунке 4.

Глубина осадки

При расчете осадки необходимо учитывать дополнительные напряжения от нагрузки на фундамент до глубины воздействия осадки, также называемой предельной глубиной. Согласно EN 1997-1 [1] и DIN 4019 [2], глубина воздействия осадки может быть принята как глубина z, на которой эффективное вертикальное напряжение от нагрузки на фундамент составляет 20% от эффективного напряжения покрывающих пород.


Автор

Г-н Мейергофер является руководителем отдела разработки программ для расчета железобетонных конструкций.

Ссылки
Ссылки


;