22189x
001413
2017-03-20

Calcolo del saldo delle singole basi secondo DIN 4019 in RF- / FOUNDATION Pro

Per la verifica allo stato limite di esercizio secondo la sezione 6.6 dell'Eurocodice EN 1997-1, il cedimento deve essere calcolato per le fondazioni allargate. In RF-/FUND Pro wurde die Setzungsberechnung für ein Einzelfundament ermöglicht. Dabei kann zwischen der Setzungsberechnung für ein schlaffes oder starres Fundament gewählt werden. Durch die Definition eines Bodenprofils ist die Berücksichtigung mehrerer Bodenschichten unter der Fundamentsohle möglich. Die Ergebnisse der Setzung, Fundamentverkantung und der vertikalen Sohlspannungsverteilung sind sowohl grafisch als auch tabellarisch aufbereitet und verschaffen so einen schnellen Überblick über die durchgeführte Berechnung. Zusätzlich zum Nachweis der Fundamentsetzung in RF-/FUND Pro werden die repräsentativen Federkonstanten für das Auflager in der statischen Berechnung bestimmt und können auf Wunsch in das statische Modell von RFEM oder RSTAB exportiert werden.

generale

Il cedimento totale stot sul suolo causato da carichi strutturali è costituito dalle componenti del cedimento immediato s0 , del cedimento di consolidamento s1 , e del cedimento viscoso s2.

stot = s0 + s1 + s2 = s + s2

Secondo la DIN 4019 [2] , il metodo descritto di seguito include un'impostazione specifica "s" costituita da entrambe le componenti di cedimento - cedimento causato dal consolidamento e cedimento causato dalla viscosità (cedimento secondario). La Figura 1 mostra graficamente le componenti di cedimento dipendenti dal tempo. In questo caso, il tempo t0 rappresenta il periodo fino al completo consolidamento.

Calcolo degli insediamenti utilizzando le tensioni verticali sul suolo

Il metodo di calcolo dei cedimenti descritto di seguito si basa sul modello di un semispazio elastico, isotropo, omogeneo. Questo approccio di calcolo può essere applicato anche per il cedimento di terreno di fondazione con diversi strati.

Per determinare il cedimento, è necessario dividere il terreno in strisce e definire le tensioni verticali del terreno sotto la base di fondazione. In base all'analisi di elasticità, i cedimenti specifici si sono determinati per ogni fascia; questi sono quindi sommati per ottenere il cedimento totale s.


dove
Δσz,i = cedimento aggiuntivo che genera tensione nella striscia i
ES,i = modulo di rigidezza della striscia i
Δzi = spessore della striscia i

Determinazione delle tensioni verticali del terreno

Primo, il calcolo del cedimento richiede la determinazione delle tensioni verticali del terreno. Il calcolo delle tensioni e dei cedimenti si basa su un modello del semispazio isotropo elastico. Le rispettive tensioni si possono distinguere in base alla loro causa come segue:
σo = tensione del suolo causata dal peso proprio del suolo
σz = tensione causata dal carico strutturale
σz,i = tensione causata dal carico strutturale nella striscia i

Le tensioni verticali del terreno σz dovute al carico aggiuntivo all'altezza z possono essere calcolate sulla base dell'approccio di Boussinesq [3] e del principio di sovrapposizione.

Secondo Boussinesq, la tensione verticale sul suolo causata dal carico concentrato verticale V è calcolata sulla superficie del semispazio come mostrato nella Figura 2.

Le tensioni verticali del terreno all'altezza z sotto il punto d'angolo di una tensione rettangolare "elastica" uniforme σz possono essere determinate secondo la Figura 3.

Il coefficiente di influenza tensionale iR può essere dedotto dai nomogrammi corrispondenti, ad esempio dalla DIN 4019 [2].

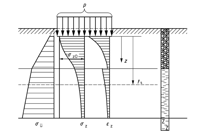
Applicando l'approccio sopra menzionato, si ottiene il risultato della distribuzione verticale delle tensioni del terreno sul terreno sotto la fondazione, che è simbolicamente rappresentato nella Figura 4.

Altezza di cedimento

Nel calcolo del cedimento, è necessario considerare le tensioni aggiuntive dovute al carico della fondazione fino alla profondità di influenza del cedimento, chiamata anche profondità limite. Secondo EN 1997-1 [1] e DIN 4019 [2], l'altezza dell'influenza di cedimento può essere considerata come profondità z, alla quale la tensione verticale efficace dovuta al carico della fondazione è il 20% della tensione di copertura efficace.


Autore

Alexander dirige lo sviluppo nell’ambito delle strutture massicce ed è responsabile dell’ulteriore sviluppo delle funzionalità per cemento armato e cemento precompresso. Inoltre, supporta il Customer Support per questioni complesse relative al dimensionamento.

Link
Bibliografia


;