22189x
001413
2017-03-20

Obliczanie metodą osadzania pojedynczych fundamentów zgodnie z DIN 4019 w RF- / FOUNDATION Pro

W przypadku obliczeń stanu granicznego użytkowalności zgodnie z sekcją 6.6 Eurokodu EN 1997-1, osiadania należy obliczyć dla fundamentów bezpośrednich. In RF-/FUND Pro wurde die Setzungsberechnung für ein Einzelfundament ermöglicht. Dabei kann zwischen der Setzungsberechnung für ein schlaffes oder starres Fundament gewählt werden. Durch die Definition eines Bodenprofils ist die Berücksichtigung mehrerer Bodenschichten unter der Fundamentsohle möglich. Die Ergebnisse der Setzung, Fundamentverkantung und der vertikalen Sohlspannungsverteilung sind sowohl grafisch als auch tabellarisch aufbereitet und verschaffen so einen schnellen Überblick über die durchgeführte Berechnung. Zusätzlich zum Nachweis der Fundamentsetzung in RF-/FUND Pro werden die repräsentativen Federkonstanten für das Auflager in der statischen Berechnung bestimmt und können auf Wunsch in das statische Modell von RFEM oder RSTAB exportiert werden.

Ogólne informacje

Całkowiteosiadanie na gruncie, spowodowane obciążeniami konstrukcyjnymi, składa się z następujących elementów: osiadania natychmiastowego s0 , osiadania konsolidacji s1 i osiadania pełzania s2 , zależnego od czasu.

stot = s0 + s1 + s2 = s + s2

Zgodnie z DIN 4019 [2] , metoda opisana poniżej obejmuje specyficzne ustawienie "s", które składa się z obu składowych osiadania - osiadania wywołanego konsolidacją i osiadania wywołanego pełzaniem (osiadanie wtórne). Rysunek 1 przedstawia graficznie zależne od czasu składniki osiadania. W takim przypadku czas t0 oznacza okres, po którym nastąpi całkowita konsolidacja.

Obliczenia osiadań z wykorzystaniem naprężeń pionowych w gruncie

Opisana poniżej metoda obliczeń osiadań oparta jest na modelu sprężystej, izotropowej, jednorodnej półprzestrzeni. To podejście obliczeniowe można również zastosować w przypadku kilkuwarstwowego osiadania gruntu fundamentowego.

Aby określić osiadanie, konieczne jest podzielenie gruntu na pasy i zdefiniowanie pionowych naprężeń gruntowych pod podstawą fundamentu. Na podstawie analizy sprężystości dla każdej z taśm określane są osiadanie si ; są one następnie sumowane w celu uzyskania całkowitego osiadania s.


Gdzie
Δσz,i = dodatkowe osiadanie powodujące naprężenie w pasie i
ES,i = moduł sztywności taśmy i
Δzi = grubość taśmy i

Wyznaczanie pionowych naprężeń gruntowych

Po pierwsze, obliczenia osiadania wymagają określenia pionowych naprężeń w gruncie. Obliczenia naprężeń i osiadań oparte są na modelu sprężystej izotropowej półprzestrzeni. Poszczególne naprężenia można rozróżnić ze względu na ich przyczynę w następujący sposób:
σlub = naprężenie w gruncie wywołane ciężarem własnym gruntu
σz = naprężenie wywołane obciążeniem konstrukcyjnym
σz,i = naprężenie wywołane obciążeniem konstrukcyjnym w pasie i

Pionowe naprężenia gruntu σz wynikające z dodatkowego obciążenia na głębokości z można obliczyć na podstawie podejścia Boussinesqa [3] i zasady superpozycji.

Według Boussinesqa naprężenie pionowe w gruncie wywołane pionowym obciążeniem skupionym V jest obliczane na powierzchni półprzestrzeni, jak pokazano na rysunku 2.

Pionowe naprężenia w gruncie na głębokości z poniżej punktu narożnego równomiernego „sprężystego” naprężenia w prostokącie σz można określić zgodnie z rysunkiem 3.

Współczynnik wpływu naprężeń iR można wyprowadzić z odpowiednich nomogramów, na przykład z normy DIN 4019 [2].

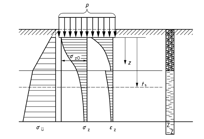
Stosując powyższe podejście, uzyskuje się wynik rozkładu pionowego naprężenia gruntu na gruncie pod fundamentem, który pokazano symbolicznie na rysunku 4.

Głębokość osiadania

W obliczeniach osiadania należy uwzględnić dodatkowe naprężenia od obciążenia fundamentu do głębokości wpływu osiadania, zwanej również głębokością graniczną. Zgodnie z EN 1997-1 [1] i DIN 4019 [2] głębokość wpływu osiadania może być przyjmowana jako głębokość z, przy której pionowe naprężenie efektywne od obciążenia fundamentem wynosi 20% efektywnego naprężenia nadkładem.


Autor

Alexander kieruje rozwojem w obszarze budownictwa masywnego i odpowiada za dalszy rozwój funkcji dotyczących konstrukcji żelbetowych i sprężonych. Dodatkowo wspiera dział Customer Support w złożonych pytaniach dotyczących wymiarowania.

Odnośniki
Odniesienia


;