22189x
001413
20. März 2017

Setzungsberechnung von Einzelfundamenten nach DIN 4019 mit RF-/FUND Pro

Für den Nachweis des Grenzzustandes der Gebrauchstauglichkeit nach Kapitel 6.6 des Eurocodes EN 1997-1 ist für eine Flachgründung (Fundament) eine Setzungsberechnung durchzuführen. In RF-/FUND Pro wurde die Setzungsberechnung für ein Einzelfundament ermöglicht. Dabei kann zwischen der Setzungsberechnung für ein schlaffes oder starres Fundament gewählt werden. Durch die Definition eines Bodenprofils ist die Berücksichtigung mehrerer Bodenschichten unter der Fundamentsohle möglich. Die Ergebnisse der Setzung, Fundamentverkantung und der vertikalen Sohlspannungsverteilung sind sowohl grafisch als auch tabellarisch aufbereitet und verschaffen so einen schnellen Überblick über die durchgeführte Berechnung. Zusätzlich zum Nachweis der Fundamentsetzung in RF-/FUND Pro werden die repräsentativen Federkonstanten für das Auflager in der statischen Berechnung bestimmt und können auf Wunsch in das statische Modell von RFEM oder RSTAB exportiert werden.

Allgemeines

Die Gesamtsetzung sges im Boden infolge von Bauwerkslasten setzt sich zusammen aus den Anteilen der Sofortsetzung s0, der Konsolidationssetzung s1 und der zeitabhängigen Kriechsetzung s2.

sges = s0 + s1 + s2 = s + s2

Nach DIN 4019 [2] beinhaltet die im nachfolgend beschriebenen Verfahren bestimmte Setzung "s" die beiden Setzungsanteile aus der Sofortsetzung und der Konsolidationssetzung. In Bild 1 sind die zeitabhängigen Setzungsanteile grafisch dargestellt. Der Zeitpunkt t0 stellt dabei die Zeit bis zur vollständigen Konsolidation dar.

Setzungsberechnung mit Hilfe der vertikalen Spannungen im Boden

Das nachfolgend beschriebene Verfahren zur Setzungsberechnung beruht auf dem Modell des elastischen, isotropen, homogenen Halbraums. Dieser Berechnungsansatz ist auch für die Setzungen eines Baugrundes mit mehreren Schichten geeignet.

Zur Ermittlung der Setzung wird der Baugrund in Teilschichten unterteilt und die vertikalen Bodenspannungen unter dem Fundament bestimmt. Auf Grundlage der Elastizitätstheorie werden dann die spezifischen Setzungen si der einzelnen Teilschichten ermittelt, welche dann zu einer Gesamtsetzung s zusammen gezählt werden.


mit
Δσz,i = setzungserzeugende Zusatzspannung in Teilschicht i
ES,i = Steifemodul der Teilschicht i
Δzi = Dicke der Teilschicht i

Ermittlung der vertikalen Bodenspannungen

Für die Setzungsberechnung müssen zunächst die vertikalen Baugrundspannungen bestimmt werden. Als Grundlage für die Spannungs- und Setzungsberechnung wird von einem Modell des elastisch-isotropen Halbraums ausgegangen. Die jeweiligen Spannungen werden entsprechend ihrer Ursache wie folgt unterschieden:
σor = Baugrundspannung infolge Eigenlast des Bodens
σz = Spannung infolge Bauwerkslast
σz,i = Spannung infolge Bauwerkslast in Teilschicht i

Die vertikalen Bodenspannungen σz infolge der Zusatzlast in der Tiefe z lassen sich auf Grundlage des Ansatzes von Boussinesq [3] und dem Superpositionsprinzip berechnen.

Nach Boussinesq berechnet sich die vertikale Spannung im Boden infolge einer lotrechten Einzellast V auf der Oberfläche des Halbraumes wie im Bild 2 gezeigt.

Die vertikalen Bodenspannungen in der Tiefe z unter dem Eckpunkt einer gleichmäßig "schlaffen" lotrechten Rechteckspannung σz lassen sich gemäß Bild 3 bestimmen.

Der Spannungseinflussbeiwert iR kann auch aus entsprechenden Nomogrammen entnommen werden, zum Beispiel aus DIN 4019 [2].

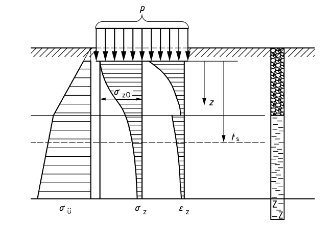
Durch die Anwendung der oben genannten Verfahren ergibt sich im Boden unter dem Fundament ein Verlauf der vertikalen Bodenspannungen, der im Bild 4 symbolisch dargestellt ist.

Setzungseinflusstiefe

Für die Berechnung der Setzung sind die Zusatzspannungen infolge einer Baugrundbelastung bis zur Setzungseinflusstiefe, auch Grenztiefe genannt, zu berücksichtigen. Gemäß EN 1997-1 [1] und DIN 4019 [2] darf die Setzungseinflusstiefe in einer Tiefe z angenommen werden, in der die lotrechten Zusatzspannungen aus der setzungswirksamen Belastung 20 % der wirksamen lotrechten Ausgangsspannungen im Boden betragen.


Autor

Alexander leitet die Entwicklung im Bereich Massivbau und verantwortet die Weiterentwicklung von Stahlbeton- und Spannbetonfunktionen. Zusätzlich unterstützt er im Customer Support bei komplexen Bemessungsfragen.

Links
Referenzen


;