22189x
001413
20-03-2017

Cálculo del asiento para cimentaciones individuales según DIN 4019 en RF-/FOUNDATION Pro

Para el cálculo del estado límite de servicio según la sección 6.6 del Eurocódigo EN 1997-1, se debe calcular el asiento para las cimentaciones. RF-/FOUNDATION Pro permite realizar el cálculo de cimentaciones para una cimentación individual. Dabei kann zwischen der Setzungsberechnung für ein schlaffes oder starres Fundament gewählt werden. Al definir el perfil del suelo, es posible considerar varias capas de suelo bajo la base de cimentación. Los resultados del asiento, vuelco de la cimentación y la distribución de tensiones de contacto del suelo se muestran gráficamente en las tablas para proporcionar una visión de conjunto clara del cálculo realizado. Además del cálculo del asiento de la cimentación en RF-/FOUNDATION Pro, el análisis estructural determina la constante elástica representativa para el apoyo y se puede exportar al modelo estructural de RFEM o RSTAB.

General

El asentamiento total stot en el suelo causado por cargas estructurales consta de los componentes del asentamiento inmediato s0 , el asentamiento de consolidación s1 y el asentamiento por fluencia dependiente del tiempo s2.

stot = s0 + s1 + s2 = s + s2

Según DIN 4019 [2] , el método que se describe a continuación incluye un ajuste específico "s" que consta de ambos componentes del asentamiento: el asentamiento causado por la consolidación y el asentamiento causado por la fluencia (asentamiento secundario). La figura 1 muestra gráficamente los componentes de asentamiento dependientes del tiempo. En este caso, el tiempo t0 representa el período hasta que se produce la consolidación completa.

Cálculo de asentamientos utilizando tensiones verticales en el suelo

El método de cálculo del asentamiento que se describe a continuación se basa en el modelo de un semiespacio elástico, isótropo y homogéneo. Este método de cálculo también se puede aplicar para el asentamiento del suelo de cimentación con varias capas.

Para determinar el asentamiento, es necesario dividir el suelo en franjas y definir las tensiones verticales del suelo debajo de la base de la cimentación. Con base en el análisis de elasticidad, se determinan los asentamientos específicos si para cada franja; estos se suman luego para obtener los asentamientos totales.


Donde
Δσz, i = asentamiento generador de tensiones adicional en la banda i
ES, i = módulo de rigidez de la banda i
Δzi = espesor de la tira i

Determinación de tensiones verticales del suelo

Primero, el cálculo del asentamiento requiere la determinación de las tensiones verticales del suelo. El cálculo de la tensión y el asentamiento se basa en un modelo del semiespacio isótropo elástico. Las tensiones respectivas se pueden distinguir según su causa de la siguiente manera:
σo = estrés del suelo causado por el peso propio del suelo
σz = tensión provocada por la carga estructural
σz, i = tensión causada por la carga estructural en la banda i

Las tensiones verticales del suelo σz debidas a la carga adicional en la profundidad z se pueden calcular sobre la base del enfoque de Boussinesq [3] y el principio de superposición.

Según Boussinesq, la tensión vertical en el suelo causada por la carga concentrada vertical V se calcula en la superficie del semiespacio como se muestra en la Figura 2.

Las tensiones verticales del suelo a la profundidad z bajo el punto de la esquina de una tensión rectangular "elástica" uniforme σz se pueden determinar de acuerdo con la Figura 3.

El coeficiente de influencia de la tensión iR se puede deducir de los nomogramas correspondientes, por ejemplo de DIN 4019 [2].

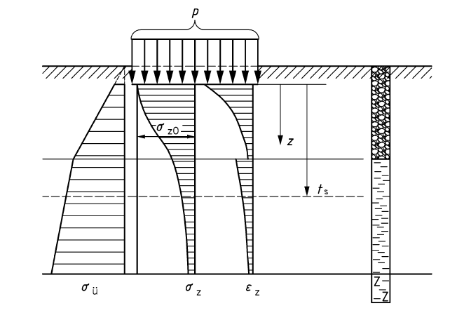
Al aplicar el enfoque mencionado anteriormente, se obtiene el resultado de la distribución vertical de la tensión del suelo en el suelo debajo de la cimentación, que se representa simbólicamente en la Figura 4.

Profundidad de asentamiento

En el cálculo del asentamiento, es necesario considerar tensiones adicionales debidas a la carga de cimentación hasta la profundidad de influencia del asentamiento, también llamada profundidad límite. Según EN 1997-1 [1] y DIN 4019 [2], la profundidad de influencia de asentamiento puede tomarse como la profundidad z, en la que la tensión vertical efectiva debida a la carga de cimentación es el 20% de la tensión de sobrecarga efectiva.


Autor

Alexander dirige el desarrollo en el área de estructuras de hormigón y es responsable del continuo desarrollo de las funciones de hormigón armado y hormigón pretensado. Además, presta apoyo en el Customer Support en cuestiones complejas de dimensionamiento.

Enlaces
Referencias


;