22189x
001413
20.3.2017

Výpočet sedání základových patek v přídavném modulu RF-/FOUNDATION Pro

Pro posouzení v mezním stavu použitelnosti podle kapitoly 6.6 Eurokódu EN 1997-1 se má u plošného základu provést výpočet sedání. Modul RF-/FOUNDATION Pro umožňuje vypočítat sedání u základové patky. Vybrat přitom můžeme výpočet sedání u pružného nebo tuhého základu. Při zadání půdního profilu lze stanovit několik půdních vrstev pod základovou spárou. Výsledky sedání, naklonění základu a rozdělení svislého napětí v základové spáře se zobrazí jak graficky tak v tabulce a podávají rychlý a jasný přehled o provedeném výpočtu. Kromě posouzení sedání základů se v modulu RF-/FOUNDATION Pro určují ve statickém výpočtu příslušné konstanty tuhosti pro podepření a lze je v případě potřeby převést do statického modelu v programu RFEM nebo RSTAB.

Obecně

Celkové sedání sges v základové půdě vlivem zatížení od stavby se skládá ze složek okamžitého sedání s0, konsolidačního sedání s1 a časově závislého sedání vyvolaného dotvarováním (creepem) s2.

sges = s0 + s1 + s2 = s + s2

Podle DIN 4019 [2] obsahuje sedání „s“ složku okamžitého a konsolidačního sedání. Postup, kterým se stanoví, si popíšeme níže. Na obrázku 01 jsou graficky znázorněny časově závislé složky sedání. Časový bod t0 vyznačuje dobu do úplné konsolidace.

Výpočet sedání na základě svislých napětí v základové půdě

Níže popsaný postup výpočtu sedání vychází z modelu pružného, izotropního, homogenního poloprostoru. Tento způsob výpočtu sedání je vhodný také pro podloží o několika vrstvách.

Pro výpočet sedání se základová půda rozdělí na dílčí vrstvy a určí se svislá napětí v podloží pod základem. Podle teorie pružnosti se pak spočítají specifická sedání si jednotlivých dílčích vrstev, která se následně sečtou do celkového sedání s.


kde
Δσz,i = napětí v dílčí vrstvě i vyvolávající sedání
ES,i = modul tuhosti dílčí vrstvy i
Δzi = tloušťka dílčí vrstvy i

Výpočet svislých napětí v základové půdě

Pro výpočet sedání je třeba nejdříve stanovit svislá napětí v základové půdě. Při výpočtu napětí a sedání se vychází z modelu pružného, izotropního poloprostoru. Příslušná napětí se rozlišují podle svého zdroje následovně:
σor = napětí v základové půdě vlivem vlastní tíhy základové půdy
σz = napětí vyvolané zatížením od stavby
σz,i = napětí vyvolané zatížením od stavby v dílčí vrstvě i

Svislá napětí v základové půdě σz vyvolaná přídavným zatížením v hloubce z lze vypočítat na základě Boussinesqova vztahu [3] a principu superpozice.

Podle Boussinesqa se stanoví svislé napětí v základové půdě vyvolané svislým osamělým zatížením V na plochu poloprostoru tak, jak je znázorněno na obrázku 02.

Svislé napětí v základové půdě v hloubce z pod rohovým bodem rovnoměrně „pružného“, svislého, obdélníkového napětí σz lze stanovit podle obrázku 03.

Součinitel iR ovlivňující výpočet napětí lze také převzít z příslušných nomogramů, například z DIN 4019 [2].

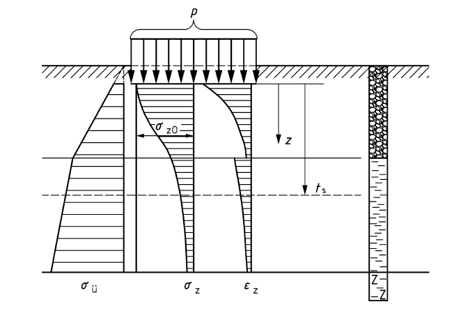
Při výše uvedeném postupu se stanoví v podloží pod základem průběh svislých napětí v základové půdě, který je symbolicky znázorněn na obrázku 04.

Hloubka uvažovaná při výpočtu sedání

Při výpočtu sedání je třeba zohlednit přídavná napětí vyvolaná zatížením základu až do hloubky vlivu neboli mezní hloubky. Podle EN 1997-1 [1] a DIN 4019 [2] lze tuto hloubku předpokládat v hloubce z, ve které efektivní svislé napětí vyvolané zatížením základu činí 20 % efektivního napětí tlaku nadloží.


Autor

Alexander vede vývoj v oblasti masivních konstrukcí a odpovídá za další rozvoj funkcí pro železobeton a předpjatý beton. Kromě toho podporuje Customer Support při složitých otázkách dimenzování.

Odkazy
Reference


;