21950x
001413
2017-03-20

按照规范 DIN 4019 在 RF-/FOUNDATION Pro 中计算独立基础的沉降

Für den Nachweis des Grenzzustandes der Gebrauchstauglichkeit nach Kapitel 6.6 des Eurocodes EN 1997-1 ist für eine Flachgründung (Fundament) eine Setzungsberechnung durchzuführen. 使用 RF-/FOUNDATION Pro 可以计算独立基础的沉降。 Dabei kann zwischen der Setzungsberechnung für ein schlaffes oder starres Fundament gewählt werden. Durch die Definition eines Bodenprofils ist die Berücksichtigung mehrerer Bodenschichten unter der Fundamentsohle möglich. Die Ergebnisse der Setzung, Fundamentverkantung und der vertikalen Sohlspannungsverteilung sind sowohl grafisch als auch tabellarisch aufbereitet und verschaffen so einen schnellen Überblick über die durchgeführte Berechnung. Zusätzlich zum Nachweis der Fundamentsetzung in RF-/FUND Pro werden die repräsentativen Federkonstanten für das Auflager in der statischen Berechnung bestimmt und können auf Wunsch in das statische Modell von RFEM oder RSTAB exportiert werden.

基本

由结构荷载造成的土壤总沉降 stot由直接沉降 s0 、固结沉降 s1和随时间而变化的徐变沉降 s2组成。

s= s0 + s1 + s2 = s + s2

根据 DIN 4019 [2] ,下面描述的方法包括一个特定的设置 "s",该设置由两个沉降分量组成 - 固结产生的沉降和徐变产生的沉降(次沉降)。 图 1 以图形方式显示了随时间变化的沉降分量。 在这种情况下,时间 t0表示直到完全合并之前的时间。

使用土壤上的竖向应力计算沉降

下面介绍的沉降计算方法是基于弹性的、各向同性的、均匀的半空间模型。 这种方法同样适用于多层基础土的沉降。

为了确定沉降,必须将土壤分成条带,并定义基础底部的土壤垂直应力。 根据弹性分析,确定每条带钢的比沉降 si ;然后将它们相加,得到总沉降 s。


值:
Δσz,i = 带 i 中附加应力产生的沉降
ES,i = 带 i 的刚度模量
Δzi = 带材 i 的厚度

计算土壤竖向应力

首先,沉降计算需要计算土壤的竖向应力。 应力和沉降的计算是基于弹性各向同性的半空间模型。 根据产生这些应力的原因,可以将这些应力分为以下几种:
σ= 由土自重产生的土应力
σz = 结构荷载产生的应力
σz,i = 由结构荷载作用在带钢 i 上产生的应力

在深度 z 处附加荷载作用下的土壤竖向应力 σz可以根据 Boussinesq 方法[3]和叠加原理计算。

根据 Boussinesq,在半空间面上计算由竖向集中荷载 V 引起的土壤竖向应力,如图 2 所示。

均匀“弹性”矩形应力 σ z 的角点下深度 z 处的土壤垂直应力 σz可以根据图 3 确定。

应力影响系数 iR可以从相应的列线图中导出,例如从 DIN 4019 [2] 中导出。

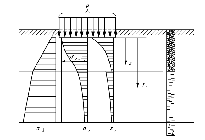
应用上面介绍的方法,得到基础下土层的竖向土应力分布结果如图 4 所示。

沉降深度

在沉降计算中,必须要考虑基础荷载产生的附加应力,直至达到沉降的影响深度,也称为极限深度。 根据 EN 1997-1 [1]和 DIN 4019 [2],沉降影响深度可以看作深度 z,在该深度 z 处基础荷载作用下的有效竖向应力为有效上覆土应力的 20%。


作者

Alexander 负责实心结构领域的开发工作,并负责钢筋混凝土和预应力混凝土功能的持续开发。此外,他还在客户支持中协助处理复杂的设计问题。

链接
参考


;