22189x
001413
20.03.2017

Calcul d’affaissement de la fondation simple selon DIN 4019 dans RF-/FOUNDATION Pro

Pour la vérification de l’état limite de service selon la section 6.6 de l’Eurocode EN 1997-1, l’affaissement de la fondation superficielle doit être calculé. RF-/FOUNDATION Pro vous permet d’effectuer le calcul d’affaissement pour une fondation simple. Dabei kann zwischen der Setzungsberechnung für ein schlaffes oder starres Fundament gewählt werden. En définissant un profil de sol, vous pouvez considérer plusieurs couches de sol au-dessous de la base de fondation. Les résultats de l’affaissement et la distribution de contrainte de contact avec le sol sont affichés graphiquement et dans les tableaux pour un aperçu claire et rapide de la vérification effectuée. En complément à la vérification de l’affaissement de la fondation dans RF-/FOUNDATION Pro, l’analyse structurelle détermine les constantes de ressort d’appui représentatives qui peuvent être exportées dans le modèle structurel de RFEM ou RSTAB.

Général

Le tassement total stot du sol causé par les charges de structure est composé des composants du tassement immédiat s0 , du tassement de consolidation s1 et du tassement par fluage dépendant du temps s2.

stot = s0 + s1 + s2 = s + s2

Selon la norme DIN 4019 [2] , la méthode décrite ci-dessous inclut un paramètre spécifique « s » composé des deux composants du tassement - tassement causé par la consolidation et tassement causé par le fluage (tassement secondaire). La Figure 1 montre graphiquement les composants de tassement en fonction du temps. Dans ce cas, le temps t0 représente la période jusqu'à ce que la consolidation complète se produise.

Calcul du tassement à l'aide des contraintes verticales sur le sol

La méthode de calcul du tassement décrite ci-dessous est basée sur le modèle d'un demi-espace élastique, isotrope et homogène. Cette méthode de calcul peut également être appliquée pour le tassement d'un sol de fondation à plusieurs couches.

Pour déterminer le tassement, il est nécessaire de diviser le sol en bandes et de définir les contraintes verticales du sol sous le radier. Sur la base de l'analyse de l'élasticité, les tassementsspécifiques si sont déterminés pour chaque bande ; ils sont ensuite additionnés pour obtenir le tassement total s.



z,i = tassement additionnel générateur de contraintes dans la bande i
ES,i = module de rigidité de la bande i
Δzi = épaisseur de la bande i

Détermination des contraintes verticales du sol

Tout d'abord, le calcul du tassement nécessite la détermination des contraintes verticales du sol. Le calcul des contraintes et des tassements est basé sur un modèle du demi-espace élastique isotrope. Les contraintes respectives peuvent être distinguées selon leur cause comme suit :
ou = contrainte du sol causée par le poids propre du sol
z = contrainte causée par la charge structurelle
z,i = contrainte causée par la charge structurelle dans la bande i

Les contraintes verticales du solz dues à la charge supplémentaire à la profondeur z peuvent être calculées à l'aide de l'approche de Boussinesq [3] et du principe de superposition.

Selon Boussinesq, la contrainte verticale sur le sol causée par la charge verticale concentrée V est calculée sur la surface du demi-espace, comme le montre la Figure 2.

Les contraintes verticales du sol à la profondeur z sous le sommet d'une contrainte rectangulaire « élastique » uniformez peuvent être déterminées selon la Figure 3.

Le coefficient d'influence des contraintes iR peut être déduit des nomogrammes correspondants, par exemple selon la norme DIN 4019 [2].

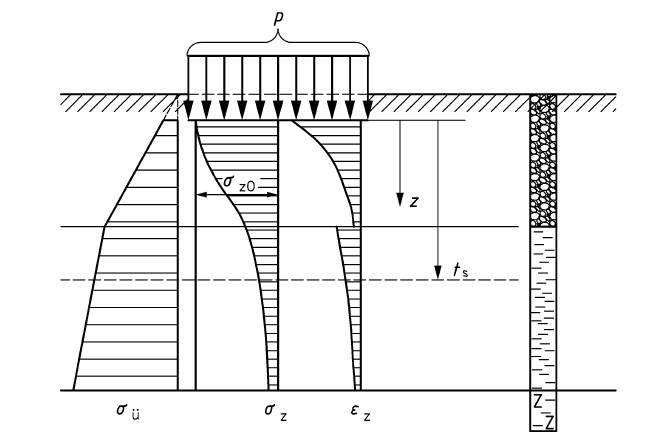
En appliquant l'approche mentionnée ci-dessus, vous obtenez le résultat de la distribution des contraintes de sol verticales sur le sol sous la fondation, qui est représentée symboliquement dans la Figure 4.

Profondeur de tassement

Dans le calcul du tassement, il est nécessaire de considérer les contraintes supplémentaires dues à la charge de fondation jusqu'à la profondeur d'influence du tassement, également appelée profondeur limite. Selon l'EN 1997-1 [1] et la DIN 4019 [2], la profondeur d'influence du tassement peut être considérée comme la profondeur z, à laquelle la contrainte verticale effective due à la charge de fondation est de 20 % de la contrainte effective de mort-terrain.


Auteur

Alexander dirige le développement dans le domaine de la construction en béton armé et est responsable du perfectionnement des fonctions relatives au béton armé et au béton précontraint. De plus, il apporte son soutien au Customer Support pour les questions de dimensionnement complexes.

Liens
Références


;