22189x
001413
2017-03-20

Cálculo de alicerces de acordo com a norma DIN 4019 no RF- / FOUNDATION Pro

Para a verificação do estado limite de utilização de acordo com a secção 6.6 do Eurocódigo EN 1997-1, o assentamento tem de ser calculado para fundações superficiais. In RF-/FUND Pro wurde die Setzungsberechnung für ein Einzelfundament ermöglicht. Dabei kann zwischen der Setzungsberechnung für ein schlaffes oder starres Fundament gewählt werden. Durch die Definition eines Bodenprofils ist die Berücksichtigung mehrerer Bodenschichten unter der Fundamentsohle möglich. Die Ergebnisse der Setzung, Fundamentverkantung und der vertikalen Sohlspannungsverteilung sind sowohl grafisch als auch tabellarisch aufbereitet und verschaffen so einen schnellen Überblick über die durchgeführte Berechnung. Zusätzlich zum Nachweis der Fundamentsetzung in RF-/FUND Pro werden die repräsentativen Federkonstanten für das Auflager in der statischen Berechnung bestimmt und können auf Wunsch in das statische Modell von RFEM oder RSTAB exportiert werden.

Geral

O recalque total stot no solo causado por cargas estruturais é constituído pelas componentes do recalque imediato s0 , do recalque de consolidação s1 e do recalque de fluência dependente do tempo s2.

stot = s0 + s1 + s2 = s + s2

De acordo com a norma DIN 4019 [2] , o método descrito abaixo inclui uma configuração específica "s" que consiste em ambos os componentes de assentamento - assentamento causado por consolidação e assentamento causado por fluência (reassentamento secundário). A Figura 1 apresenta graficamente os componentes de liquidação dependentes do tempo. Neste caso, o tempo t0 representa o período até que ocorra a consolidação completa.

Cálculo de assentamento através de tensões verticais no solo

O método de cálculo do recalque descrito abaixo baseia-se no modelo de um semi-espaço elástico, isotrópico e homogéneo. Esta abordagem de cálculo também pode ser aplicada para o assentamento de solos de fundação com várias camadas.

Para determinar o recalque, é necessário dividir o solo em faixas e definir as tensões verticais do solo abaixo da base da fundação. Com base na análise de elasticidade, são determinados os assentamentos específicos si para cada faixa; estes são depois adicionados para obter os assentamentos totais s.


Onde
Δσz,i = assentamento gerador de tensão adicional na faixa i
ES,i = módulo de rigidez da faixa i
Δzi = espessura da faixa i

Determinação das tensões verticais do solo

Em primeiro lugar, o cálculo do recalque requer a determinação das tensões verticais do solo. O cálculo da tensão e do recalque é baseado num modelo de semi-espaço isotrópico elástico. As respetivas tensões podem ser distinguidas de acordo com a sua causa da seguinte forma:
σou = tensão do solo causada pelo peso próprio do solo
σz = tensão causada pela carga estrutural
σz,i = tensão causada por carga estrutural na faixa i

As tensões verticais do solo σz devido à carga adicional na profundidade z podem ser calculadas com base na abordagem de Boussinesq [3] e no princípio da sobreposição.

De acordo com Boussinesq, a tensão vertical no solo causada pela carga vertical concentrada V é calculada na superfície do meio espaço como apresentado na Figura 2.

As tensões verticais do solo à profundidade z sob o ponto de canto de uma tensão retangular "elástica" uniforme σz podem ser determinadas de acordo com a Figura 3.

O coeficiente de influência da tensão iR pode ser deduzido dos nomogramas correspondentes, por exemplo, DIN 4019 [2].

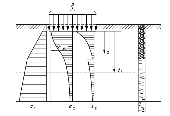
Aplicando a abordagem mencionada acima, obtém-se o resultado da distribuição vertical de tensões do solo no solo sob a fundação, que é representado simbolicamente na Figura 4.

Profundidade de assentamento

No cálculo do recalque, é necessário considerar tensões adicionais devido à carga de fundação até a altura de influência do recalque, também chamada de altura limite. De acordo com as normas EN 1997-1 [1] e DIN 4019 [2], a altura de influência do assentamento pode ser considerada como a profundidade z, na qual a tensão vertical efetiva devido à carga de fundação é de 20% da tensão de recobrimento efetiva.


Autor

Alexander lidera o desenvolvimento na área de construção em betão maciço e é responsável pela evolução das funções de betão armado e betão protendido. Além disso, presta apoio no Customer Support em questões complexas de dimensionamento.

Ligações
Referências


;