20537x
001525
2018-06-27

Законы ортотропных материалов

Законы ортотропных материалов применяются в каждом случае, в котором материалы расположены в соответствии с их загружением. Примером являются армированные волокном пластмассы, профилированный лист, железобетон или древесина.

Закон Гука обычно учитывается для ортотропных материалов

т.е. больше не действует.

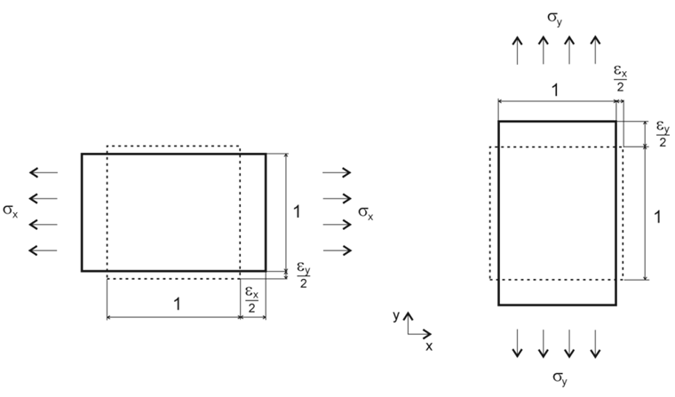
Следующие параметры материала относятся к двумерной жесткости и, если не указано иначе, относятся к деревянному материалу. В качестве основы зададим локальную систему осей, как показано на рисунке 01.

  • Ex = жесткость в локальном направлении поверхности x
  • Ey = жесткость в локальном направлении поверхности y
  • Gxz = жесткость на сдвиг в локальном направлении поверхности x (направление толщины плиты)
  • Gyz = жесткость на сдвиг в локальном направлении поверхности y (направление толщины плиты)
  • Gxy = жесткость на сдвиг в плоскости плиты
  • νxy = поперечная деформация в направлении x
  • νyx = поперечная деформация в направлении y

Напряжения, показанные на рисунке 02, связаны с выше упомянутыми жесткостями.

Свойства материала подчиняются следующим правилам.

Уравнение 1:

Уравнение 2:

Уравнение 3:

Уравнение 4:

Соотношение деформаций в упомянутых выше уравнениях подчеркивает соотношения, показанные на рисунке 01.

Жесткость в плоскостной области рассчитывается следующим образом.

Уравнение 5:

Поперечная деформация ν

На рисунке 01 мы видим, что изменение деформаций и напряжений в данном направлении является результатом более однородных свойств материала в соответствующем направлении.

Соотношение деформаций:

Уравнение 6:

Уравнение 7:

Простой вопрос - быстрый ответ:

по закону Гука мы получим следующие уравнения.

Уравнение 8:

Уравнение 9:

Уравнение 10:

Уравнение 11:

Уравнение 12:

Уравнение 13:

Матрица жесткости

Расчет глобальной матрицы жесткости плиты.

Уравнение 14:

Изгибные компоненты:

Уравнение 15:

Уравнение 16:

Уравнение 17:

Уравнение 18:

Мембранные компоненты:

Уравнение 19:

Уравнение 20:

Уравнение 21:

Уравнение 22:

Компоненты среза:

Уравнение 23:

Уравнение 24:

Предпосылкой этих уравнений является то, что матрица жесткости положительна, т.е. все собственные значения матрицы положительны.

По этой причине RFEM проверит, кроме прочего, ввод поперечной деформации с помощью следующего уравнения.

Уравнение 25:

Пример

Свойства ортотропного материала мы поясним на следующем примере (рисунок 03). Мы сравним ортотропный материал с изотропным материалом. Кроме того, зададим высокую жесткость ортотропной плиты в направлении x и в направлении y.

Конструкция:

  • Толщина плиты 200 мм
  • Материал C 24
  • Ортотропная жесткость
  • Изотропная жесткость
  • Размер w = 2,0 м, l = 4,0 м
  • Нагрузка 20 кН/м²
  • Размер сетки КЭ 50 см

Конструкция, благодаря опиранию, жестко защемлена в вертикальном направлении z. Условия опирания в направлениях х и у были выбраны таким образом, чтобы не возникало воздействий от защемления.

Расчет выполняется по статическому линейному анализу с учетом линейно-упругих свойств материала и условий опирания.

По закону Гука с заданными значениями мы получим следующую поперечную деформацию.

Уравнение 26:

Так высокая поперечная деформация невозможна для выбранной модели материала. Однако с помощью уравнений из нормы [1], значения можно скорректировать.

Уравнение 27:

Уравнение 28:

Уравнение 29:

Уравнение 30:

Результаты:
Как и ожидалось, наибольшие деформации происходят при направленности жесткости в направлении y (рисунок 06). Опорная реакция и момент изотропной плиты показаны на рисунке 05.

Так как плита с высокой жесткостью в направлении y (Ey = 1100 кН/см²) обладает высокой прочностью в данном направлении, в нем наблюдаются и более высокие опорные реакции (125,4 кНм по сравнению с 58,3 кНм).

Полученные максимальные изгибающие моменты ортотропных плит равны mx для жесткости в направлении x и my для высокой жесткости в направлении y.

У плиты с высокой жесткостью в направлении y максимальный изгибающий момент my находится почти в центре плиты (рисунок 07).

Изменения поперечной деформации

Поперечная деформация, согласно диаграмме деформаций, может достигнуть максимальных и минимальных значений, указанных в таблице, для материала прочности C24.

 макс.Мин.
νxy5,447-5,447
νyx0,183-0,183

Поэтому плита, заданная в начале с высокой жесткостью (Ex = 11 000), будет задана с данными высокими поперечными деформациями. Другие жесткости плиты не изменятся.

На рисунке 08 показаны результаты изменения νxy от 5,44 до -5,44.

При νxy = 5,44 опорные реакции качественно соответствуют изотропным свойствам материала. Изгибающий момент увеличивается от mx = 18,1 кНм/м (изотропная плита) до mx = 34,9 кНм/м (ортотропная плита)

По сравнению с ортотропной плитой, имеющей обычные поперечные деформации, (νxy = 2,5) изгибающий момент немного уменьшается.

При νxy = 0 высокая амплитуда опорной реакции на свободном конце плиты распределится в постоянную величину 43 кН/м

Момент mx возрастет до 38,1 кНм/м. По сравнению с предыдущим результатом (νxy =5,44), здесь проявляется воздействие поперечной деформации. При ν = 0, напряжений и искривления из-за поперечной деформации не возникает.

При νxy = -5,44 наблюдается надкритический отказ на свободном конце пластины, и опорные реакции будут отрицательными. Максимальный момент наблюдается в центре плиты и равен 59,5 кНм/м.

Плита теперь обладает скорее свойствами одноосно напряженной плиты без третьей опоры в продольном направлении.

Эти свойства можно объяснить с помощью рисунка 01 и приведенных здесь соотношений.

Из-за высокой отрицательной поперечной деформации (νxy = -5,44), плита подвергается избыточному сжатию на свободном конце и поэтому не может быть деформирована.

Воздействие ортотропии в направлении y в этом случае почти равно нулю (Ey ≈ 0).

Заключение

С помощью ортотропной модели материала в RFEM можно задать практически любые параметры материала. При изменениях поперечных деформаций можно получить очень различные результаты. После корректировки значений поперечной деформации по норме [1] мы получим значения, близкие к решению для однопролетной балки.

Уравнение 31:

Слишком высокие отрицательные поперечные деформации указывают на модифицированную конструктивную систему, которая больше не соответствует нашей модели.


Автор

Бастиан отвечает в Product Engineering за разработку и обеспечение качества в деревянном строительстве, а также дополнительно работает в Customer Support. Его опыт напрямую используется при решении практических вопросов.

Ссылки
Ссылки
Скачивания


;