20537x
001525
27. Juni 2018

Orthotrope Materialgesetze

Orthotrope Materialgesetze finden überall dort Verwendung, wo Materialien entsprechend ihrer Beanspruchung angeordnet werden. Beispiele hierfür sind faserverstärkte Kunststoffe, Trapezbleche, bewehrter Beton oder Holz.

Im Regelfall ist bei den orthotropen Materialien das hookesche Gesetz mit

und nicht mehr gültig.

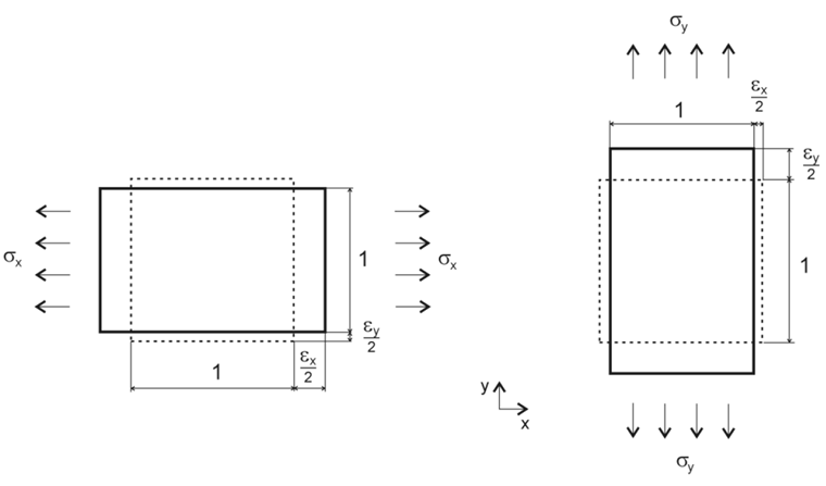
Die folgenden Materialparameter beziehen sich auf zweidimensionale Steifigkeiten und, so weit nicht anders benannt, auf das Material Holz. Es wird ein lokales Achsensystem wie in Bild 01 zugrunde gelegt.

  • Ex = Steifigkeit in lokaler x-Richtung der Fläche
  • Ey = Steifigkeit in lokaler y-Richtung der Fläche
  • Gxz = Schubsteifigkeit in lokaler x-Richtung der Fläche (Dickenrichtung der Platte)
  • Gyz = Schubsteifigkeit in lokaler y-Richtung der Fläche (Dickenrichtung der Platte)
  • Gxy = Schubsteifkgeit in Scheibenebene
  • νxy = Querdehnung in x-Richtung
  • νyx = Querdehnung in y-Richtung

Die Spannungen in Bild 02 stehen mit den hier genannten Steifigkeiten in Beziehung.

Das Materialgesetz unterliegt folgenden Regeln.

Gleichung 1:

Gleichung 2:

Gleichung 3:

Gleichung 4 (Steifigkeiten in Scheibenebene ESZ):

Das Verhältnis der Dehnungen in obigen Gleichungen unterstreicht die Beziehungen in Bild 01.

Die Steifigkeiten in Scheibenebene berechnen sich wie folgt.

Gleichung 5:

Querdehnung ν

Wie bereits in Bild 01 erläutert, resultieren aus dem weicheren Materialverhalten in der jeweiligen Richtung veränderte Verformungen und Spannungen in dieser Richtung.

Verhältnis der Dehnungen:

Gleichung 6:

Gleichung 7:

Für

ergeben sich mit dem hookeschen Gesetz folgende Gleichungen.

Gleichung 8:

Gleichung 9:

Gleichung 10:

Gleichung 11:

Gleichung 12:

Gleichung 13:

Steifigkeitsmatrix

Berechnung der globalen Steifigkeitsmatrix der Platte.

Gleichung 14:

Biegeanteile:

Gleichung 15:

Gleichung 16:

Gleichung 17:

Gleichung 18:

Scheibenanteile:

Gleichung 19:

Gleichung 20:

Gleichung 21:

Gleichung 22:

Schubanteile:

Gleichung 23:

Gleichung 24:

Voraussetzung für diese Gleichungen ist natürlich immer, dass die Steifigkeitsmatrix positiv definit ist, also alle Eigenwerte der Matrix positiv sind.

Aus diesem Grund überprüft RFEM unter anderem die Definition der Querdehnung nach folgender Gleichung.

Gleichung 25:

Beispiel

Mit folgendem Beispiel (Bild 03) wird das orthotrope Materialverhalten erläutert. Hierfür wird dem orthotropen Material ein isotropes Material gegenübergestellt. Zusätzlich wird die Steifigkeit der orthotropen Platte einmal mit der hohen Steifigkeit in x-Richtung und einmal in y-Richtung definiert.

System:

  • Plattendicke 200 mm
  • Material C24
  • Orthotrope Steifigkeiten
  • Isotrope Steifigkeiten
  • Dimension b = 2,0 m, l = 4,0 m
  • Last 20 kN/m²
  • FE-Netzgröße 50 cm

Das System ist unverschieblich in vertikaler z-Richtung gelagert. Die Lagerbedingungen in x- und y-Richtung wurden so gewählt, dass keine Zwängungen entstehen.

Die Berechnung erfolgt nach Theorie I. Ordnung mit linear elastischem Materialverhalten und Lagerbedingungen.

Das hookesche Gesetz ergibt mit den gegebenen Werten folgende Querdehnung.

Gleichung 26:

Diese hohe Querdehnung ist mit dem gewählten Materialmodel nicht möglich. Mit den Gleichungen aus [1] können die Werte jedoch angepasst werden.

Gleichung 27:

Gleichung 28:

Gleichung 29:

Gleichung 30:

Ergebnisse:
Wie zu erwarten, ergeben sich die größten Verformungen mit der Orientierung der Steifigkeiten in y-Richtung (Bild 06). Die Lagerreaktion und das Moment der isotropen Platte sind in Bild 05 dargestellt.

Da die Platte mit der hohen Steifigkeit in y-Richtung (Ey = 1.100 kN/cm²) die hohe Tragfähigkeit in dieser Richtung aufweist, sind dort auch die Lagerreaktionen höher (125,4 kNm zu 58,3 kNm).

Die maximalen Biegemomente ergeben sich für die orthotropen Platten analog für mx mit der Steifigkeit in x-Richtung und für my mit der hohen Steifigkeit in y-Richtung.

Für die Platte mit der hohen Steifigkeit in y-Richtung ist das maximale Biegemoment my nahezu in der Mitte der Platte (Bild 07).

Variation der Querdehnung

Die Querdehnung nach den Dehnungsbeziehungen kann, für ein Material der Festigkeit C24, die in der Tabelle aufgeführten maximalen und minimalen Werte erreichen.

 Max.Min.
νxy5,447-5,447
νyx0,183-0,183

Die Eingangs eingeführte Platte mit der hohen Steifigkeit (Ex = 11.000) wird hierfür mit diesen hohen Querdehnungen definiert. Die anderen Steifigkeiten der Platte bleiben dabei jedoch unverändert.

In Bild 08 sind die Ergebnisse der Variation von νxy = 5,44 bis -5,44 aufgeführt.

Für νxy = 5,44 sind die Lagerreaktionen qualitativ identisch zum isotropen Materialverhalten. Das Biegemoment vergrößert sich von mx = 18,1 kNm/m (isotrope Platte) zu mx = 34,9 kNm/m (orthotrope Platte).

Gegenüber der orthotropen Platte mit üblicheren Querdehnungen (νxy = 2,5) verkleinert sich das Biegemoment leicht.

Mit νxy = 0 verlagert sich der hohe Ausschlag der Lagerreaktion am freien Ende der Platte zu einem konstanten Wert von 43 kN/m.

Das Moment mx vergrößert sich auf 38,1 kNm/m. Im Vergleich zum vorherigen Ergebnis (νxy =5,44) zeigt sich der Einfluss der Querdehnung. Für ν =0 wird keine Verformung oder Verzerrung aufgrund der Querdehnung hervorgerufen.

Für νxy = -5,44 ergibt sich ein Durchschlag am freien Plattenende und es werden die Lagerreaktionen negativ. Das maximale Moment ergibt sich in der Mitte der Platte mit 59,5 kNm/m.

Die Platte verhält sich jetzt mehr wie eine einaxial gespannte Platte, ohne das dritte Lager in seiner Längsrichtung.

Anhand Bild 01 und der dort aufgeführten Beziehungen lässt sich dieses Verhalten erklären.

Aufgrund der hohen negativen Querdehnung (νxy = -5,44) wird die Platte am freien Rand komplett überdrückt und kann sich daher hier nicht verformen.

Der Einfluss der Orthotropie in y-Richtung liegt hierbei nahe null (Ey ≈ 0).

Zusammenfassung

Mit dem orthotropen Materialmodell in RFEM ist eine nahezu beliebige Definition von Materialparametern möglich. Anhand der Variation der Querdehnungen können sehr unterschiedliche Ergebnisse erreicht werden. Eine Querdehnung nach Modifikation der Werte nach [1] ergibt Werte nahe der Lösung für einen Einfeldträger.

Gleichung 31:

Zu hohe negative Querdehnungen bilden ein geändertes statisches System ab, welches nicht mehr der Modellierung entspricht.


Autor

Bastian verantwortet im Product Engineering die Entwicklung und Qualitätssicherung im Holzbau und ist zusätzlich im Customer Support aktiv. Seine Erfahrung fließt direkt in die Bearbeitung praktischer Fragestellungen ein.

Links
Referenzen
Downloads


;