20537x
001525
2018-06-27

Orthotropic Material Laws

Orthotropic material laws are used wherever materials are arranged according to their loading. Examples include fiber-reinforced plastics, trapezoidal sheets, reinforced concrete, and timber.

As a rule, the Hooke's material law

and is no longer valid for orthotropic materials.

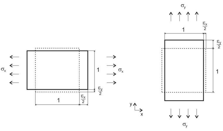
The following material parameters refer to two-dimensional stiffnesses and, unless otherwise stated, to the material of timber. A local axis system is the basis, as shown in Image 01.

  • Ex = stiffness in the local x-direction of the surface
  • Ey = the stiffness in the local y-direction of the surface
  • Gxz = the shear stiffness in the local x-direction of the surface (thickness direction of the plate)
  • Gyz = the shear stiffness in the local y-direction of the surface (thickness direction of the plate)
  • Gxy = the in-plane shear stiffness
  • νxy = the transversal strain in the x-direction
  • νyx = the transversal strain in the y-direction

The stresses in Image 02 are related to the stiffnesses mentioned here.

The material law is subject to the following rules.

Equation 1:

Equation 2:

Equation 3:

Equation 4 (in-plane stiffnesses):

The ratio of the strains in the equations mentioned above underlines the relations in Image 01.

The in-plane stiffnesses are calculated as follows.

Equation 5:

Transversal Strain ν

As already explained in Image 01, the smoother material behavior in the respective direction results in altered deformations and stresses in this direction.

Ratio of the strains:

Equation 6:

Equation 7:

For

the following equations result with Hooke's law.

Equation 8:

Equation 9:

Equation 10:

Equation 11:

Equation 12:

Equation 13:

Stiffness Matrix

Caculation of the global stiffness matrix of the plate.

Equation 14:

Bending Components:

Equation 15:

Equation 16:

Equation 17:

Equation 18:

Membrane Components:

Equation 19:

Equation 20:

Equation 21:

Equation 22:

Shear Components:

Equation 23:

Equation 24:

A prerequisite for these equations is that the stiffness matrix is defined positive, so that all eigenvalues of the matrix are positive.

For this reason, RFEM checks, among other things, the definition of the transversal strain according to the following equation.

Equation 25:

Example

The orthotropic material behavior will be explained with the following example (Image 03). An orthotropic material will be compared to an isotropic material. In addition, the stiffness of the orthotropic plate will be defined with the high stiffness in the x-direction and in the y-direction.

Structure:

  • Plate thickness 200 mm
  • Material C 24
  • Orthotropic stiffnesses
  • Isotropic stiffnesses
  • Dimension w = 2.0 m, l = 4.0 m
  • Load 20 kN/m²
  • FE mesh size 50 cm

The structure is supported as rigidly fixed in the vertical z-direction. The support conditions in the x- and y-directions have been selected in such a way that no effects occur due to restraint.

The calculation is performed according to the linear static analysis with linear elastic material behavior and support conditions.

The following transversal strain results from Hooke's law, together with the given values.

Equation 26:

This high transversal strain is impossible with the selected material model. With the equations from [1], the values can, however, be adjusted.

Equation 27:

Equation 28:

Equation 29:

Equation 30:

Results:
As expected, the largest deformations occur with the orientation of the stiffnesses in the y-direction (Image 06). The support reaction and the moment of the isotropic plate are displayed in Image 05.

Since the plate with high stiffness in the y-direction (Ey = 1,100 kN/cm²) has high resistance in this direction, the support reactions are also higher there (125.4 kNm compared to 58.3 kNm).

The resulting maximum bending moments for the orthotropic plates are equal to mx with the stiffness in the x-direction and for my with a high stiffness in the y-direction.

For the plate with high stiffness in the y-direction, the maximum bending moment my is almost in the center of the plate (Image 07).

Variation of Transversal Strain

The transversal strain according to the strain diagrams can reach the maximum and minimum values listed in the table for material of C24 stiffness.

 Max.Min.
νxy5.447-5.447
νyx0.183-0.183

The plate introduced at the beginning with the high stiffness (Ex = 11,000) will be defined with these high transversal strains for this purpose. The other stiffnesses of the plate, however, remain unchanged.

Image 08 shows the results of the variation of νxy = 5.44 to −5.44.

For νxy = 5.44, the support reactions are qualitatively identical to the isotropic material behavior. The bending moment enlarges from mx = 18.1 kNm/m (isotropic plate) to mx = 34.9 kNm/m (orthotropic plate).

Compared to the orthotropic plate with common transversal strains (νxy = 2.5), the bending moment is slightly reduced.

With νxy = 0, the high amplitude of the support reaction at the free end of the plate is shifted to a constant value of 43 kN/m.

The moment mx increases to 38.1 kNm/m. Compared to the previous result (νxy =5.44), the influence of the transversal strain is shown here. For ν = 0, no deformation or distortion is caused due to the transversal strain.

For νxy = −5.44, a post-critical failure is shown at the free plate end and the support reactions turn negative. The maximum moment occurs in the center of the plate with 59.5 kNm/m.

The plate now behaves more than a uniaxial stressed plate without the third support in the longitudinal direction.

This behavior can be explained with Image 01 and the relation listed there.

Due to the high negative transversal strain (νxy = −5.44), the plate is completely overpressed at the free edge and cannot, therefore, be deformed.

The influence of the orthotropy in the y-direction is almost zero here (Ey ≈ 0).

Conclusion

Almost any material parameters can be defined with the orthotropic material model in RFEM. Very different results are possible with the variation of the transversal strains. A transversal strain after modification of the values according to [1] results in values that lie close to the solution for a single-span beam.

Equation 31:

Overly high negative transversal strains show a modified structural system that no longer corresponds to the modeling.


Author

In Product Engineering, Bastian is responsible for development and quality assurance in timber structures and also plays an active role in customer support. His experience directly informs how he addresses practical issues.

Links
References
Downloads


;