20537x
001525
2018-06-27

Równania materiału ortotropowego

Ortotropowe prawa materiałowe są stosowane wszędzie tam, gdzie materiały są uporządkowane zgodnie z ich obciążeniem. Przykłady obejmują tworzywa sztuczne wzmocnione włóknami, blachy trapezowe, beton zbrojony i drewno.

W przypadku materiałów ortotropowych zazwyczaj uwzględniane jest prawo Hooke'a

i utraciła ważność.

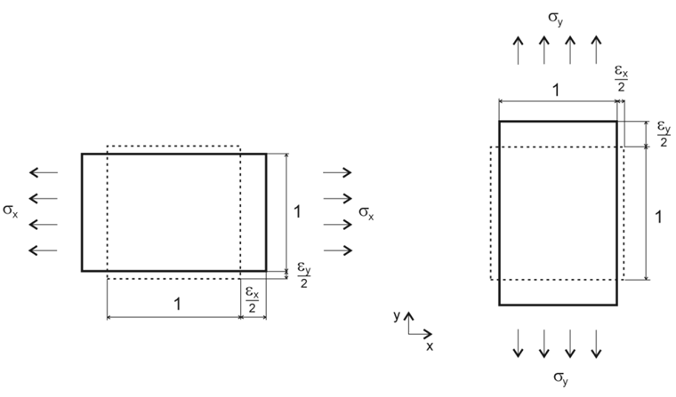
Poniższe parametry materiałowe odnoszą się do sztywności w dwóch wymiarach oraz, o ile nie zaznaczono inaczej, do materiału drewnianego. Lokalny układ osiowy stanowi podstawę, jak pokazano na rysunku 01.

  • Ex = sztywność w lokalnym kierunku x powierzchni
  • E y = sztywność w lokalnym kierunku y powierzchni
  • Gxz = sztywność na ścinanie w lokalnym kierunku x powierzchni (kierunek grubości płyty)
  • Gyz = sztywność na ścinanie w lokalnym kierunku y powierzchni (kierunek grubości płyty)
  • Gxy = sztywność na ścinanie w płaszczyźnie powierzchni
  • νxy = odkształcenie poprzeczne w kierunku x
  • νyx = odkształcenie poprzeczne w kierunku y

Naprężenia na Rysunku 02 są powiązane ze sztywnościami wspomnianymi tutaj.

Prawo materialne podlega następującym regułom.

Równanie 1:

Równanie 2:

Równanie 3:

Równanie 4 (sztywności w płaszczyźnie):

Stosunek odkształceń w równaniach wymienionych powyżej podkreśla zależności na rysunku 01.

Sztywności w obszarze w płaszczyźnie są obliczane w następujący sposób.

Równanie 5:

Odkształcenie poprzeczne ν

Jak wyjaśniono na rysunku 01, zmodyfikowane odkształcenia i naprężenia w tym kierunku wynikają z bardziej płynnego zachowania materiału w danym kierunku.

Stosunek odkształceń:

Równanie 6:

Równanie 7:

Jeżeli chcesz zadać krótkie pytanie techniczne,

poniższe równania dają w rezultacie prawo Hooke'a.

Równanie 8:

Równanie 9:

Równanie 10:

Równanie 11:

Równanie 12:

Równanie 13:

Macierz sztywności

Obliczanie globalnej macierzy sztywności płyty.

Równanie 14:

Elementy zginane:

Równanie 15:

Równanie 16:

Równanie 17:

Równanie 18:

Elementy membranowe:

Równanie 19:

Równanie 20:

Równanie 21:

Równanie 22:

Składowe ścinania:

Równanie 23:

Równanie 24:

Warunkiem wstępnym tych równań jest to, aby macierz sztywności była dodatnio określona, to znaczy, aby wszystkie wartości własne macierzy były dodatnie.

Z tego powodu program RFEM sprawdza między innymi definicję odkształcenia poprzecznego zgodnie z poniższym równaniem.

Równanie 25:

Przykład

Zachowanie ortotropowego materiału zostanie wyjaśnione na poniższym przykładzie (Rysunek 03). Materiał ortotropowy zostanie porównany z materiałem izotropowym. Ponadto sztywność płyty ortotropowej zostanie zdefiniowana z dużą sztywnością w kierunku x i y.

Konstrukcja:

  • Grubość płyty 200 mm
  • Materiał C 24
  • Sztywności ortotropowe
  • Sztywności izotropowe
  • Wymiar w = 2,0 m, l = 4,0 m
  • Obciążenie 20 kN/m²
  • Rozmiar oczka siatki ES 50 cm

Konstrukcja jest podparta jako sztywno zamocowana w kierunku pionowym z. Warunki podparcia w kierunkach x i y dobrano w taki sposób, aby odkształcenia nie występowały.

Obliczenia są przeprowadzane zgodnie z liniową analizą statyczną z liniowo sprężystym zachowaniem materiału i warunkami podparcia.

Poniższe odkształcenie poprzeczne wynika z prawa Hooke'a wraz z podanymi wartościami.

Równanie 26:

W przypadku wybranego modelu materiałowego tak duże odkształcenie poprzeczne nie jest możliwe. Za pomocą równań z [1] można jednak dostosować wartości.

Równanie 27:

Równanie 28:

Równanie 29:

Równanie 30:

Wyniki:
Zgodnie z oczekiwaniami, największe odkształcenia występują przy orientacji sztywności w kierunku y (Rysunek 06). Reakcja podpory i moment izotropowej płyty są przedstawione na rysunku 05.

Ponieważ płyta o dużej sztywności w kierunku y (Ey = 1100 kN/cm²) ma dużą nośność w tym kierunku, reakcje podporowe również tam są większe (125,4 kNm w porównaniu z 58,3 kNm).

Maksymalne momenty zginające dla płyt ortotropowych są równe mx dla sztywności w kierunku x oraz dla dużej sztywności my w kierunku y.

W przypadku płyty o dużej sztywności w kierunku y maksymalny moment zginający my występuje prawie w środku płyty (Rysunek 07).

Wariacja odkształcenia poprzecznego

Odkształcenie poprzeczne może osiągnąć maksymalne i minimalne wartości podane w tabeli dla materiału o wytrzymałości C24.

 Maks.Min.
νxy5,447-5,447
νyx0,183-0,183

Wprowadzona na początku płyta o dużej sztywności (Ex = 11.000) zostanie w tym celu zdefiniowana z uwzględnieniem tak dużych odkształceń poprzecznych. Pozostałe sztywności płyty pozostają niezmienione.

Rysunek 08 przedstawia wyniki zmiany νxy = 5,44 na -5,44.

Dla νxy = 5,44 reakcje podporowe są jakościowo identyczne z zachowaniem materiału izotropowego. Moment zginający wzrasta od mx = 18,1 kNm/m (płyta izotropowa) do mx = 34,9 kNm/m (płyta ortotropowa).

W porównaniu z płytą ortotropową o powszechnych odkształceniach poprzecznych (νxy = 2,5), moment zginający jest nieznacznie zredukowany.

Przy νxy = 0, wysoka amplituda reakcji podporowej na swobodnym końcu płyty przesuwa się do stałej wartości 43 kN/m.

Moment mx wzrasta do 38,1 kNm/m. W porównaniu z poprzednim wynikiem (νxy =5,44), tutaj pokazano wpływ odkształcenia poprzecznego. Dla ν =0 odkształcenie poprzeczne nie powoduje żadnych odkształceń ani odkształceń.

Dla νxy = -5,44 uszkodzenie postkrytyczne pojawia się na swobodnym końcu płyty, a reakcje podporowe stają się ujemne. Maksymalny moment w środku płyty wynosi 59,5 kNm/m.

Płyta zachowuje się teraz bardziej niż płyta obciążona jednoosiowo, bez trzeciej podpory w kierunku podłużnym.

Zachowanie to można wytłumaczyć za pomocą rysunku 01 i przedstawionej tam zależności.

Ze względu na duże ujemne odkształcenie poprzeczne (νxy = -5,44) płyta jest całkowicie obciążona przy swobodnej krawędzi i nie może być odkształcona.

Wpływ ortotropii w kierunku y jest tutaj prawie zerowy (Ey ≈ 0).

Uwagi końcowe

Za pomocą ortotropowego modelu materiałowego w programie RFEM można zdefiniować prawie dowolne parametry materiałowe. W przypadku zróżnicowania odkształceń poprzecznych możliwe są bardzo różne wyniki. Po modyfikacji wartości zgodnie z [1] dla odkształcenia poprzecznego wartości są zbliżone do rozwiązania dla belki jednoprzęsłowej.

Równanie 31:

Zbyt wysokie ujemne odkształcenia poprzeczne wskazują na zmodyfikowany układ konstrukcyjny, który nie odpowiada już modelowi.


Autor

Bastian odpowiada w Product Engineering za rozwój i zapewnienie jakości w budownictwie drewnianym, a dodatkowo aktywnie działa w Customer Support. Jego doświadczenie bezpośrednio wpływa na opracowywanie praktycznych zagadnień.

Odnośniki
Odniesienia
Pobrane


;