20537x
001525
2018-06-27

Leis de material ortotrópico

As leis para materiais ortotrópicos são utilizadas onde os materiais são ordenados de acordo com o seu carregamento. Exemplo disso é os plásticos reforçados com fibras, chapas perfiladas, betão armado e madeira.

a lei de Hooke é geralmente incluída para materiais ortotrópicos

u. deixa de ser válida.

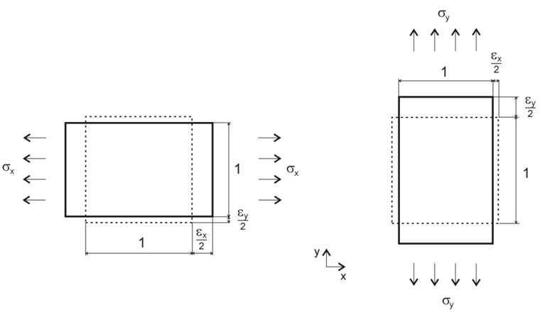
Os seguintes parâmetros do material referem-se à rigidez bidimensional e, salvo indicação em contrário, ao material madeira. Um sistema de eixos local é a base, conforme apresentado na Figura 01.

  • Ex = rigidez na direção x local da superfície
  • E y = rigidez na direção y local da superfície
  • Gxz = rigidez de corte na direção x local da superfície (direção da espessura da laje)
  • Gyz = rigidez de corte na direção y local da superfície (direção da espessura da laje)
  • Gxy = área de rigidez de corte no plano
  • νxy = deformação transversal na direção x
  • νyx = deformação transversal na direção y

As tensões na Figura 02 estão relacionadas com as rigidezes aqui mencionadas.

A lei dos materiais está sujeita às seguintes regras.

Equação 1:

Equação 2:

Equação 3:

Equação 4 (rigidezes no plano da área):

A relação das deformações nas equações mencionadas acima destaca as relações na Figura 01.

A rigidez na área do plano é calculada como se segue.

Equação 5:

Deformação transversal ν

Como explicado na Figura 01, as deformações e tensões alteradas nesta direção resultam do comportamento do material mais suave na respetiva direção.

Relação das deformações:

Equação 6:

Equação 7:

Pergunta simples – resposta rápida:

as seguintes equações resultam da lei de Hooke.

Equação 8:

Equação 9:

Equação 10:

Equação 11:

Equação 12:

Equação 13:

Matriz de rigidez

Cálculo da matriz de rigidez global da placa.

Equação 14:

Componentes de flexão:

Equação 15:

Equação 16:

Equação 17:

Equação 18:

Componentes de membrana:

Equação 19:

Equação 20:

Equação 21:

Equação 22:

Componentes de corte:

Equação 23:

Equação 24:

Um pré-requisito para estas equações é que a matriz de rigidez seja definida como positiva, isto é, que todos os valores próprios da matriz sejam positivos.

Por esta razão, o RFEM verifica, entre outras coisas, a definição da extensão transversal de acordo com a seguinte equação.

Equação 25:

Exemplo

O comportamento do material ortotrópico será explicado com base no seguinte exemplo (Figura 03). Um material ortotrópico será comparado com um material isotrópico. Além disso, a rigidez da placa ortotrópica será definida com a rigidez elevada nas direções x e na direção y.

Estrutura:

  • Espessura da placa 200 mm
  • Material C 24
  • Rigidezes ortotrópicas
  • Rigidezes isotrópicas
  • Dimensão w = 2,0 m, l = 4,0 m
  • Carga 20 kN/m²
  • Tamanho da malha de EF 50 cm

A estrutura é suportada como fixada de forma rígida na direção vertical z. As condições de apoio nas direções x e y foram selecionadas de tal forma que não ocorrem efeitos devido à restrição.

O cálculo é realizado de acorco com a análise estática linear com comportamento de material elástico linear e condições de apoio.

A seguinte deformação transversal resulta da lei de Hooke, em conjunto com os valores dados.

Equação 26:

Esta deformação transversal elevada não é possível com o modelo de material selecionado. Com as equações de [1] , os valores podem, contudo ser ajustados.

Equação 27:

Equação 28:

Equação 29:

Equação 30:

Resultados:
Conforme esperado, as maiores deformações ocorrem com a orientação da rigidez na direção y (Figura 06). A reação de apoio e o momento da placa isotrópica são apresentados na Figura 05.

a placa com rigidez elevada na direção y (Ey = 1100 kN/cm²) tem resistência elevada nesta direção, as reações de apoio também são mais altas (125,4 kNm em comparação com 58,3 kNm).

Os momentos de flexão máximos resultantes para as placas ortotrópicas são iguais para mx com a rigidez na direção x e para my com uma rigidez elevada na direção y.

Para a laje com rigidez elevada na direção y, o momento fletor máximo my encontra-se quase no centro da laje (Figura 07).

Variação da deformação transversal

A deformação transversal de acordo com os diagramas de deformação pode atingir os valores máximo e mínimo listados na tabela para um material de resistência C24.

 MáxMín
νxy5,447-5,447
νyx0,183-0,183

A placa introduzida no início com a rigidez elevada (Ex = 11 000) será definida com estas deformações transversais elevadas para este propósito. As outras rigidezes da laje, no entanto, permanecem inalteradas.

A Figura 08 mostra os resultados da variação de νxy = 5,44 até -5,44.

Para νxy = 5,44, as reações de apoio são qualitativamente idênticas ao comportamento do material isotrópico. O momento fletor aumenta de mx = 18,1 kNm/m (placa isotrópica) para mx = 34,9 kNm/m (placa ortotrópica).

Em comparação com a placa ortotrópica com deformações transversais comuns (νxy = 2,5), o momento fletor é ligeiramente reduzido.

Com νxy = 0, a amplitude alta da reação de apoio na extremidade livre da placa é deslocada para um valor constante de 43 kN/m.

O momento mx aumenta para 38,1 kNm/m. Comparada com o resultado anterior (νxy =5,44), a influência da deformação transversal é apresentada aqui. Para ν =0, não é causada qualquer deformação ou distorção devido à extensão transversal.

Para νxy = -5,44, ocorre uma rotura pós-crítica na extremidade da placa livre e as reações de apoio tornam-se negativas. O momento máximo ocorre com 59,5 kNm/m no centro da placa.

A placa agora comporta-se mais do que uma placa sujeita a tensão uniaxial, sem o terceiro apoio na direção longitudinal.

Este comportamento pode ser explicado com base na Figura 01 e na relação aí listada.

Devido à elevada deformação transversal negativa (νxy = -5,44), a placa está completamente comprimida na borda livre e, portanto, não pode ser deformada.

A influência da ortotropia na direçãoy é quase nula aqui (Ey ≈ 0).

Conclusão

Quase todos os parâmetros de material podem ser definidos com o modelo de material ortotrópico no RFEM. São possíveis resultados muito diferentes com a variação das deformações transversais. Uma deformação transversal após a modificação dos valores de acordo com [1] resulta em valores que se encontram próximos da solução para uma viga de vão único.

Equação 31:

As deformações transversais negativas demasiado elevadas indicam um sistema estrutural alterado que já não corresponde à modelação.


Autor

Bastian é responsável, na Product Engineering, pelo desenvolvimento e pela garantia da qualidade na construção em madeira e também atua no Customer Support. A sua experiência é aplicada diretamente no tratamento de questões práticas.

Ligações
Referências
Downloads


;