20537x
001525
27-06-2018

Leyes de los materiales ortótropos

Las leyes de materiales ortótropos se utilizan siempre que se disponen los materiales según su carga. Los ejemplos incluyen plásticos reforzados con fibra, láminas trapezoidales, hormigón armado y madera.

La ley de Hooke generalmente se incluye para materiales ortótropos

y ya no es válido.

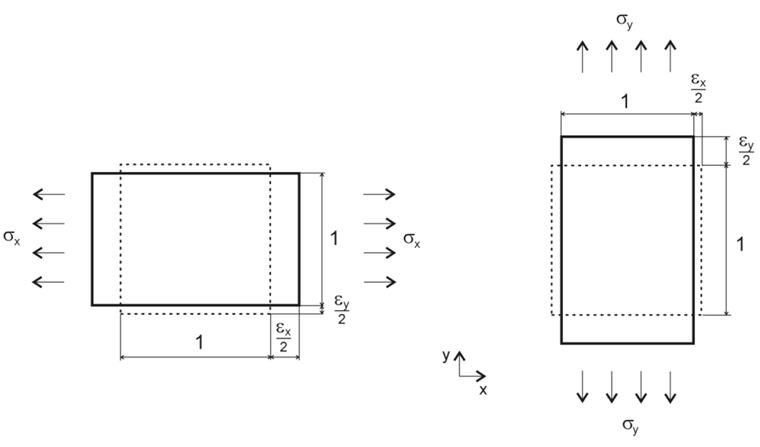
Los siguientes parámetros del material se refieren a rigideces bidimensionales y, a menos que se indique lo contrario, al material de la madera. Un sistema de ejes local es la base, como se muestra en la figura 01.

  • Ex = rigidez en la dirección local x de la superficie
  • Ey = rigidez en la dirección local y de la superficie
  • Gxz = rigidez a cortante en la dirección local x de la superficie (dirección de la rigidez de la chapa)
  • Gyz = rigidez a cortante en la dirección local y de la superficie (dirección de la rigidez de la chapa)
  • Gxy = rigidez a cortante en el área de la chapa
  • νxy = deformación transversal en la dirección x
  • νyx = deformación transversal en la dirección y

Las tensiones en la figura 02 están relacionadas con las rigideces aquí mencionadas.

Esta ley del material está sujeta a las siguientes reglas.

Ecuación 1:

Ecuación 2:

Ecuación 3:

Ecuación 4 (rigidez en el área de la chapa)

En las ecuaciones mencionadas anteriormente, la relación de las deformaciones subrayan las relaciones en la figura 01.

Las rigideces en el área en el plano se calculan como sigue.

Ecuación 5:

Deformación transversal ν

Como se ha explicado en la figura 01, las deformaciones y tensiones modificadas en esta dirección se obtienen desde el comportamiento más suave del material en la dirección respectiva.

Razón de las deformaciones:

Ecuación 6:

Ecuación 7:

Para

las siguientes ecuaciones resultan con la ley de Hooke.

Ecuación 8:

Ecuación 9:

Ecuación 10:

Ecuación 11:

Ecuación 12:

Ecuación 13:

matriz de rigidez

Cálculo de la matriz de rigidez global de la chapa.

Ecuación 14:

Componentes de flexión:

Ecuación 15:

Ecuación 16:

Ecuación 17:

Ecuación 18:

Componentes de la membrana:

Ecuación 19:

Ecuación 20:

Ecuación 21:

Ecuación 22:

Componentes de cortante:

Ecuación 23:

Ecuación 24:

Como requisito previo, la matriz de rigidez se define positiva, de forma que todos los valores propios de la matriz son positivos.

Por esta razón, RFEM comprueba, entre otras cosas, la definición de la deformación transversal según la siguiente ecuación.

Ecuación 25:

Ejemplo

El comportamiento del material ortótropo se explicará con el siguiente ejemplo (figura 03). Se va a comparar un material ortótropo con un material isótropo. Además, la rigidez de la placa ortótropa se definirá con la rigidez alta en la dirección x y en la dirección y.

Estructura:

  • Espesor de la chapa 200 mm
  • Material C 24
  • Rigidez ortótropa
  • Rigidez isótropa
  • Dimensión 2 = 2,0 m, l = 4,0 m
  • Carga 20 kN/m²
  • Tamaño de la malla de EF 50 cm

La estructura está apoyada como rígidamente fijada en la dirección vertical z. Las condiciones del apoyo en las direcciones x e y se han seleccionado de tal manera que no se produzcan efectos debido a la coacción.

El cálculo se realiza según el análisis estático lineal con el comportamiento elástico lineal del material y las condiciones del apoyo.

La siguiente deformación transversal resulta de la ley de Hooke, junto con los valores dados.

Ecuación 26:

Esta alta deformación transversal es imposible con el modelo de material seleccionado. Con las ecuaciones de [1], sin embargo, se pueden ajustar los valores.

Ecuación 27:

Ecuación 28:

Ecuación 29:

Ecuación 30:

Resultados:
Como se esperaba, las deformaciones más grandes ocurren con la orientación de las rigideces en la dirección y (figura 06). La reacción en el apoyo y el momento de la chapa isótropa se muestran en la figura 05.

Desde que la chapa con la rigidez elevada en la dirección y (Ey = 1 100 kN/cm²) tiene la mayor resistencia en esta dirección, las reacciones en los apoyos también son mayores ahí (125,4 kNm comparado con 58,3 kNm).

Los máximos momentos flectores resultantes de las chapas ortótropas son iguales a mx con la rigidez en la dirección x y para my con la mayor rigidez en la dirección y.

Para la chapa con la mayor rigidez en la dirección y, el mayor momento flector my está casi en el centro de la chapa (figura 07).

Variación de la deformación transversal

La deformación transversal según los diagramas de deformaciones puede alcanzar los valores máximos y mínimos enumerados en la tabla para un material de resistencia C24.

 Máx.Mín.
νxy5,447-5,447
νyx0,183-0,183

Para este propósito, la chapa introducida al principio con la alta rigidez (Ex = 11 000) se va a definir con estas deformaciones transversales altas. Las otras rigideces de la chapa, sin embargo, permanecen sin cambios.

La figura 08 muestra los resultados de la variación de νxy = 5,44 a -5.44.

Para ν xy = 5,44, las reacciones de los apoyos son cualitativamente idénticas al comportamiento del material isótropo. El momento flector aumenta desde mx 0 18,1 kNm/m (chapa isótropa) a mx = 34,9 kNm/m (chapa ortótropa).

Comparado con la chapa ortótropa con deformaciones transversales comunes (νxy = 2,5), el momento flector está ligeramente reducido.

Con νxy = 0, la amplitud elevada de la reacción en el apoyo en el final libre de la chapa ha cambiado a un valor constante de 43 kN/m.

El momento mx aumenta hasta 38,1 kNm/m. Comparado con el resultado previo (vxy = 5,44), aquí se muestra la influencia de la deformación transversal. Para ν = 0, no se produce ninguna deformación o distorsión debido a la deformación transversal.

Para ν xy = -5,44, se muestra una rotura postcrítica en el extremo libre de la chapa y las reacciones de soporte se vuelven negativas. El momento máximo se produce en el centro de la chapa con 59,5 kNm/m.

La placa ahora se comporta más que una placa tensada uniaxialmente, sin el tercer apoyo en la dirección longitudinal.

Este comportamiento se puede explicar con la figura 01 y la relación ahí numerada.

Debido a la deformación transversal negativa elevada (νxy = -5,44), la chapa está sometida completamente a una sobrepresión en el extremo libre y, por lo tanto, no se puede deformar.

Aquí, la influencia de la ortotropía en la dirección y es casi nula (Ey ≈ 0).

Conclusión

Casi cualquier parámetro del material se puede definir con el modelo de material ortótropo en RFEM. Son posibles resultados muy diferentes con la variación de las deformaciones transversales. Una deformación transversal, después de la modificación de los valores según [1], da como resultado valores próximos a la solución para una viga de vano simple.

Ecuación 31:

Las deformaciones transversales negativas demasiado altas muestran un sistema estructural modificado que ya no se corresponde con el modelado.


Autor

Bastian es responsable en Product Engineering del desarrollo y del aseguramiento de la calidad en la construcción de madera y, además, participa en Customer Support. Su experiencia se incorpora directamente en la resolución de cuestiones prácticas.

Enlaces
Referencias
Descargas


;