20537x
001525
27.06.2018

Lois de matériau orthotrope

Les lois de matériau orthotrope sont utilisées dès lors que les matériaux sont disposés en fonction de leur chargement. Nous pouvons citer comme exemple les plastique renforcé de fibres, les tôles trapézoïdales, le béton armé et le bois.

En règle générale, la loi de Hooke avec

et n’est plus valable pour les matériaux orthotropes.

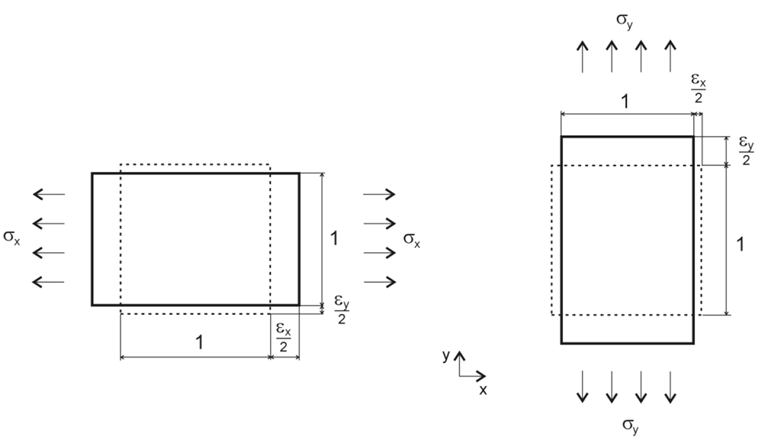
Les paramètres de matériau suivants sont relatifs à des rigidités bidimensionnelles et, à moins que le contraire ne soit précisé, de matériau bois. Comme le montre la Figure 01, nous utilisons un système d’axe local.

  • Ex = rigidité en direction x locale de la surface
  • Ey = rigidité en direction y locale de la surface
  • Gxz = rigidité de cisaillement en direction x locale de la surface (direction d’épaisseur de la plaque)
  • Gyz = rigidité de cisaillement en direction y locale de la surface (direction d’épaisseur de la plaque)
  • Gxy = rigidité de cisaillement dans la zone dans le plan
  • νxy = déformation transversale en direction x
  • νyx = déformation transversale en direction y

Les contraintes dans la Figure 02 sont relatives aux rigidités mentionnées ici.

La loi de matériau est sujette aux règles suivantes.

Équation 1 :

Équation 2 :

Équation 3 :

Équation 4 (rigidités dans le plan) :

Le ratio de déformations dans les équations ci-dessus souligne les relations dans la Figure 01.

Les rigidités dans le plan sont calculées comme suit.

Équation 5 :

Déformation transversale ν

Comme le montre la Figure 01, il résulte du comportement de matériau plus lisse dans la direction respective des contraintes et déformations modifiées dans cette direction.

Ratio des déformations :

Équation 6 :

Équation 7 :

Pour

les équations suivantes sont obtenues avec la loi de Hooke.

Équation 8 :

Équation 9 :

Équation 10 :

Équation 11 :

Équation 12 :

Équation 13 :

Matrice de rigidité

Calcul de la matrice de rigidité globale de la plaque.

Équation 14 :

Composants de fléchissement :

Équation 15 :

Équation 16 :

Équation 17 :

Équation 18 :

Composants de membrane :

Équation 19 :

Équation 20 :

Équation 21 :

Équation 22 :

Composants du cisaillement :

Équation 23 :

Équation 24 :

La matrice de rigidité doit être définie positive pour ces équations, de sorte que toutes les valeurs propres de la matrice soient positives.

C’est pour cette raison que RFEM contrôle, entre autres, la définition de la déformation transversale relative à l’équation suivante.

Équation 25 :

Exemple

Le comportement de matériau orthotrope sera expliqué à l’aide de l’exemple suivant (Figure 03). Un matériau orthotrope sera comparé à un matériau isotrope. De plus, la rigidité d’une plaque orthotrope sera définie avec une rigidité élevée en direction x et y.

Structure :

  • Épaisseur de plaque 200 mm
  • Matériau C24
  • Rigidités orthotropes
  • Rigidités isotropes
  • Dimension l = 2,0 m, L = 4,0 m
  • Charge 20 kN/m²
  • Taille du maillage EF 50 cm

La structure est définie comme encastrée en direction z verticale. Les conditions d’appui en direction x et y ont été sélectionnées de sorte qu’aucun effet dû aux maintiens ne survienne.

Le calcul est réalisé selon l’analyse statique linéaire avec des conditions d’appui et un comportement de matériau linéaire élastique.

La déformation transversale suivante est un résultat de la loi de Hooke appliqué aux valeurs données.

Équation 26 :

Cette déformation transversale élevée est impossible avec le modèle sélectionné. Avec les équations de [1], les valeurs peuvent toutefois être ajustées.

Équation 27 :

Équation 28 :

Équation 29 :

Équation 30 :

Résultats :
Comme prévu, les plus grandes déformations ont lieu avec l’orientation des rigidités en direction y (Figure 06). Les réactions d’appui et le moment de la plaque isotrope sont affichés dans la Figure 05.

La plaque avec une rigidité importante dans la direction y (Ey = 1 100 kN/cm2) ayant une résistance importante dans cette direction, les réactions d’appui sont également plus élevées (125,4 kNm contre 58,3 kNm).

Les moments de flexion maximum résultants pour les plaques orthotropes sont égaux à mx avec la rigidité en direction x et pour my avec une rigidité importante en direction y.

La plaque à la rigidité élevée en direction y a son moment fléchissant my quasiment en son centre (Figure 07).

Variation de la déformation transversale

La déformation transversale relative aux diagrammes de déformation peut atteindre les valeurs maximale et minimale listées dans ce tableau pour un matériau de résistance C24.

 Max.Min.
νxy5,447-5,447
νyx0,183-0,183

La plaque à rigidité importante vue précédemment (Ex = 11,000) sera définie avec ces déformations transversales élevées. Les autres rigidités de plaque restent toutefois identiques.

La Figure 08 affiche les résultats de la variation de νxy = 5,44 à -5,44.

Pour νxy = 5,44 les réactions d’appui sont qualitativement identiques à celles du comportement de matériau isotrope. Le moment fléchissant passe de mx = 18,1 kNm/m (plaque isotrope) à mx = 34,9 kNm/m (plaque orthotrope).

Le moment fléchissant est légèrement réduit en comparaison aux déformations transversales habituelles (νxy = 2,5).

Avec νxy = 0, la grande amplitude de valeurs des réactions d’appui de l’extrémité libre de plaque est remplacée par une valeur constante de 43 kN/m.

Le moment mx augmente à 38,1 kNm/m. Relativement au résultat précédent (νxy =5,44), l’influence de la déformation transversale est perceptible visuellement. Pour v = 0, aucune déformation ou distorsion n’est causée par la déformation transversale.

Pour νxy = -5,44 un échec post-critique est affiché à l’extrémité de la plaque et les réactions d’appui deviennent alors négatives. Le moment maximum a lieu dans le centre de la plaque avec 59,5 kNm/m.

La plaque a maintenant un comportement plus proche de celui d’une plaque sous contraintes uniaxales sans troisième appui dans la direction longitudinale.

Ce comportement peut être expliqué avec la Figure 01 et la relation qui y est listée.

La déformation transversale négative élevée (νxy = -5,44), provoque une rupture sous charge du bord libre et ne peut ainsi pas être déformée.

L’influence de l’orthotropie en direction y est ici quasi-nulle (Ey ≈ 0).

Conclusion

Presque tous les paramètres de matériau peuvent être définis avec un matériau orthotrope dans RFEM. La variation des déformations transversales permet d’obtenir des résultats très différents. Une déformation transversale suite à la modification des valeurs selon [1] résulte de valeurs proches de la solution pour une poutre à travée simple.

Équation 31 :

Les déformations transversales négatives trop élevées affichent un système structural modifié qui ne correspond plus à la modélisation.


Auteur

Bastian est responsable, au sein du Product Engineering, du développement et de l’assurance qualité dans la construction bois et intervient également dans le support client. Son expérience est directement mise à profit dans le traitement des questions pratiques.

Liens
Références
Téléchargements


;