52827x
001469
2017-08-17

Verificação de cordões de soldadura segundo a EN 1993-1-8

O cordão de soldadura é o tipo de soldadura mais utilizado na construção de edifícios de aço. De acordo com a norma EN 1993-1-8, 4.3.2.1 (1) [1], as soldaduras de ângulo podem ser utilizadas para a ligação de peças quando as superfícies de fusão formam entre si um ângulo compreendido entre 60° e 120°.

A espessura efetiva da soldadura a de um cordão de soldadura deve ser considerada como a altura do maior triângulo (com pernas iguais ou desiguais) que pode ser inscrito dentro das faces de fusão e da superfície de soldadura, medida perpendicularmente ao lado exterior deste triângulo; ver Figura 01.

Resistência de dimensionamento de cordões de soldadura

De acordo com 1993-1-8 [1] , a resistência de cálculo de um cordão de soldadura é geralmente determinada utilizando o método direcional ou o método simplificado. O método direcional é descrito abaixo.

É assumida uma distribuição uniforme de tensões na secção de soldadura, originando as tensões normais e as tensões de corte apresentadas na Figura 02, da seguinte forma:

  • σ tensão normal perpendicular ao eixo de soldadura
  • Σ|| tensão normal paralela ao eixo de soldadura
  • τ tensão de corte (no plano da superfície da soldadura em ângulo) perpendicular ao eixo da soldadura
  • τ|| tensão de corte (no plano da superfície da soldadura em ângulo) paralela ao eixo da soldadura

A tensão normal σ|| paralelo ao eixo não é considerado ao verificar a resistência de cálculo do cordão de soldadura.

A resistência de cálculo da soldadura em ângulo será suficiente se forem cumpridas as seguintes condições:

Onde
fu é a tensão de tração última nominal da parte mais fraca unida,
βw é o fator de correlação adequado (ver EN 1993-1-8, Tabela 4.1)
γM2 é o coeficiente parcial de segurança para a resistência das soldaduras.

Exemplo

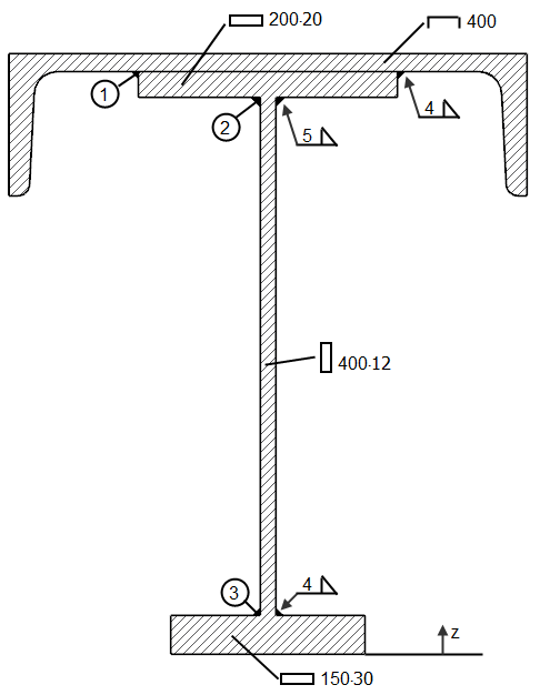
Dimensionamento de uma soldadura em ângulo da viga apresentada na Figura 03 de [2].

Material: S235, fu = 36,0 kN/cm², βw = 0,8
Forças internas: Vz = 350 kN

centro de gravidade

Momento de inércia
Em relação ao centroide, o momento de inércia é:

Momentos estáticos
No que diz respeito ao centro de gravidade, os momentos estáticos das secções ligadas são calculados utilizando os cordões de soldadura ➀, ➁ e ➂:
Sy, 1 = A1 ∙ (zS, 1 - zS ) = 91,48 ∙ (43,72 - 30,88) = 1,175 cm³
Sy, 2 = Sy, 1 + A2 ∙ (zS, 2 - zS ) = 1175 + 40,00 ∙ (44,00 - 30,88) = 1700 cm³
Sy, 3 = A3 ∙ (zS - zS, 3 ) = 45,00 ∙ (30,88- 1,50) = 1322 cm³

Verificação dos cordões de soldadura

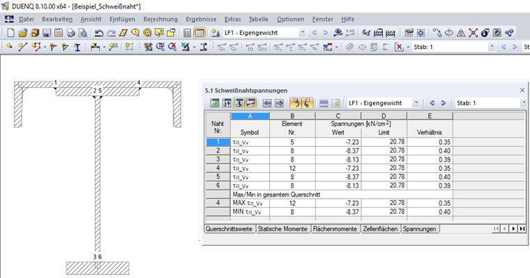
SHAPE-THIN
No SHAPE ‑ THIN, a tensão de corte (no plano da superfície de soldadura em ângulo) é paralela ao eixo de soldadura τ|| pode ser calculado em cordões de soldadura e a resistência pode ser dimensionada. Ao modelar, a soldadura tem de estar ligada às arestas de dois elementos. Um desses elementos também pode ser um elemento fictício.

Na coluna H "Elemento contínuo" da Tabela 1.6 Soldaduras, é possível definir os elementos contínuos. Não são calculadas tensões de soldadura nestes elementos. Se nenhum elemento for especificado na coluna H, as tensões de soldadura são determinadas em todos os elementos aos quais a soldadura está ligada. Estes elementos podem ser retirados da coluna B, "Elemento nº."

A Figura 04 mostra a definição de soldadura para o exemplo descrito neste artigo.

A tabela 5.1 Soldaduras apresenta as tensões resultantes τ|| para as soldaduras definidas na Tabela 1.6 Soldaduras. A Figura 05 mostra as tensões de soldadura para o exemplo descrito neste artigo.

Literatura

[1] Eurocódigo 3: Dimensionamento de estruturas de aço - Parte 1-8: Dimensionamento de ligações; EN 1993-1-8: 2005 + AC: 2009
[2]Petersen, C. (1982). Stahlbau, 4º ed.). Wiesbaden: Springer Vieweg, 2013

Autor

A Eng.ª von Bloh fornece apoio técnico a clientes e também é responsável pelo desenvolvimento do programa RSECTION e pelas estruturas de aço e alumínio.

Ligações
Referências
Downloads


;