52829x
001469
2017-08-17

Projektowanie spoin pachwinowych wg EN 1993-1-8

Najbardziej spotykanym rodzajem spoiny w konstrukcji stalowej jest spoina pachwinowa. Zgodnie z EN 1993-1-8, 4.3.2.1 (1) [1], spoiny pachwinowe mogą być stosowane do łączenia części, w której powierzchnie tworzą kąt od 60° do 120°.

Jako efektywną grubość a spoiny pachwinowej należy przyjąć wysokość największego trójkąta (z ramionami równymi lub nierównymi), jaki można wpisać w powierzchnie wtopienia i powierzchnię spoiny, mierzoną prostopadle do zewnętrznej strony tego trójkąta; patrz rysunek 01.

Obliczeniowa nośność spoin pachwinowych

Zgodnie z 1993-1-8 [1] nośność obliczeniowa spoiny pachwinowej jest zwykle określana przy użyciu metody kierunkowej lub metody uproszczonej. Metoda kierunkowa została opisana poniżej.

Zakłada się równomierny rozkład naprężeń na przekroju spoiny, prowadzący do naprężeń normalnych i ścinających pokazanych na rysunku 02, jak poniżej:

  • σ naprężenia normalne prostopadłe do osi spoiny
  • σ|| naprężenia normalne równoległe do osi spoiny
  • Naprężenie tnące τ (w płaszczyźnie powierzchni spoiny pachwinowej) prostopadłe do osi spoiny
  • τ|| naprężenie ścinające (w płaszczyźnie powierzchni spoiny pachwinowej) równolegle do osi spoiny

Naprężenie normalne σ|| równolegle do osi nie jest uwzględniana podczas weryfikacji obliczeniowej nośności spoiny pachwinowej.

Obliczeniowa nośność spoiny pachwinowej będzie wystarczająca, jeżeli zostaną spełnione następujące warunki:

Gdzie
fu jest nominalnym naprężeniem końcowym rozciągającym słabszej części łączonej,
βw jest odpowiednim współczynnikiem korelacji (patrz EN 1993-1-8, tabela 4.1)
γM2 jest częściowym współczynnikiem bezpieczeństwa dotyczącym nośności spoin.

Przykład

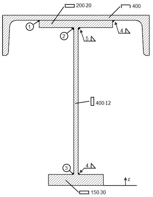
Wymiarowanie spoiny pachwinowej belki pokazanej na rysunku 03 z [2].

Materiał: S235, fu = 36,0 kN/cm², βw = 0,8
Siły wewnętrzne: Vz = 350 kN

punkt ciężkości

Moment bezwładności
W odniesieniu do środka ciężkości moment bezwładności wynosi:

Momenty statyczne
W odniesieniu do środka ciężkości obliczane są momenty statyczne łączonych przekrojów przy użyciu spoin ➀, ➁ i ➂:
Sy, 1 = A1 ∙ (zS, 1 - zS ) = 91,48 ∙ (43,72–30,88) = 1,175 cm³
Sy, 2 = Sy, 1 + A2 ∙ (zS, 2 - zS ) = 1175 + 40,00 ∙ (44,00 - 30,88) = 1700 cm³
Sy, 3 = A3 ∙ (zS - zS, 3 ) = 45,00 ∙ (30,88 - 1,50) = 1322 cm³

Wymiarowanie spoiny

SHAPE-THIN
W SHAPE -THIN, naprężenie styczne (w płaszczyźnie powierzchni spoiny pachwinowej) równolegle do osi spoiny τ|| można obliczyć na spoinach pachwinowych i obliczyć nośność. Podczas modelowania spoinę należy połączyć z krawędziami dwóch elementów. Jeden z tych elementów może być jednocześnie elementem fikcyjnym.

W kolumnie H „Element ciągły” w tabeli 1.6 Spoiny można zdefiniować elementy ciągłe. Na elementach tych nie są obliczane żadne naprężenia spoiny. Jeżeli w kolumnie H nie określono żadnego elementu, naprężenia w spoinie są określane na wszystkich elementach, z którymi połączona jest spoina. Elementy te można pobrać z kolumny B, "Element nr."

Rysunek 04 przedstawia definicję spoiny dla przykładu opisanego w tym artykule.

Tabela 5.1 Spoiny wyświetla wynikowe naprężenia τ|| dla spoin zdefiniowanych w tabeli 1.6 Spoiny. Rysunek 05 przedstawia naprężenia w spoinie dla przykładu opisanego w tym artykule.

Literatura

[1] Eurokod 3: Wymiarowanie konstrukcji stalowych - Część 1-8: Projektowanie połączeń; EN 1993-1-8: 2005 + AC: 2009
[2] Petersen, C. (1982). Stahlbau, 4 red.). Wiesbaden: Springer Vieweg, 2013

Autor

Pani von Bloh zapewnia naszym klientom wsparcie techniczne i jest odpowiedzialna za rozwój programu SHAPE‑THIN oraz konstrukcji stalowych i aluminiowych.

Odnośniki
Odniesienia
Pobrane


;