53042x
001469
17-08-2017

Diseño de soldaduras en ángulo según UNE-EN 1993-1-8

La soldadura en ángulo es el tipo de soldadura más común en la construcción de estructuras metálicas. Según EN 1993-1-8, 4.3.2.1 (1) [1], las soldaduras en ángulo se pueden usar para conectar partes estructurales donde las caras de fusión forman un ángulo de entre 60° y 120°.

El espesor de soldadura efectivo a de una soldadura en ángulo se debe tomar como la altura del triángulo más grande (con lados iguales o desiguales) que se puede inscribir dentro de las caras de fusión y la superficie de la soldadura, medida perpendicular al lado exterior de este triángulo; ver imagen 01.

Resistencia de cálculo de las soldaduras en ángulo

Según 1993‑1‑8 [1] , la resistencia de cálculo de una soldadura en ángulo se determina generalmente utilizando el método direccional o el método simplificado. El método direccional se describe a continuación.

Se asume una distribución uniforme de la tensión en la sección de la soldadura, dando lugar a las tensiones normales y a cortante que se muestran en la imagen 02, como sigue:

  • σ Tensión normal perpendicular al eje de soldadura
  • σ|| tensión normal paralela al eje de soldadura
  • τ⊥ Esfuerzo cortante (en el plano de la superficie de soldadura en ángulo) perpendicular al eje de la soldadura
  • τ|| tensión cortante (en el plano de la superficie de soldadura en ángulo) paralela al eje de la soldadura

La tensión normal σ|| paralelo al eje no se considera al verificar la resistencia de cálculo de la soldadura en ángulo.

La resistencia de cálculo de la soldadura en ángulo será suficiente si se cumplen las siguientes condiciones:

Donde
fu es la tensión de tracción última nominal de la parte más débil unida,
βw es el factor de correlación apropiado (véase EN 1993-1-8, tabla 4.1)
γM2 es el coeficiente parcial de seguridad para la resistencia de las soldaduras.

Ejemplo

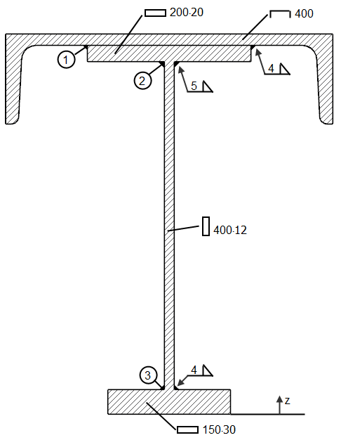
Cálculo de una soldadura en ángulo de la viga mostrada en la Imagen 03 de [2].

Material: S235, fu = 36,0 kN/cm², βw = 0,8
Fuerzas internas: Vz = 350 kN

Centro de gravedad

Momento de inercia
Con respecto al centro de gravedad, el momento de inercia es:

Momentos estáticos
Con respecto al centroide, los momentos estáticos de las secciones conectadas se calculan utilizando las soldaduras ➀, ➁ y ➂:
Sy, 1 = A1 ∙ (zS, 1 - zS ) = 91,48 ∙ (43,72- 30,88) = 1.175 cm³
Sy, 2 = Sy, 1 + A2 ∙ (zS, 2 - zS ) = 1175 + 40,00 ∙ (44,00 - 30,88) = 1,700 cm³
Sy, 3 = A3 ∙ (zS - zS, 3 ) = 45,00 ∙ (30,88-1,50) = 1.322 cm³

Cálculo de soldaduras

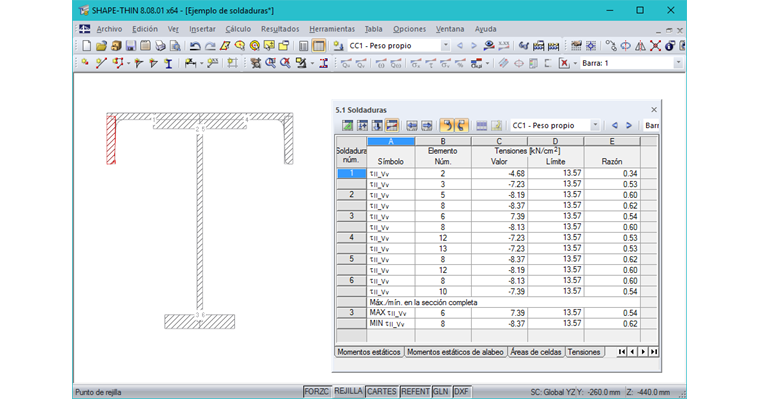
SHAPE-THIN
En SHAPE -THIN, el esfuerzo cortante (en el plano de la superficie de soldadura en ángulo) paralelo al eje de soldadura τ|| se puede calcular en soldaduras en ángulo y se puede calcular la resistencia. Al modelar, la soldadura se debe conectar a los bordes de dos elementos. Uno de estos elementos también puede ser un elemento ficticio.

En la columna H "Elemento continuo" de la tabla 1.6 Soldaduras, puede definir los elementos continuos. No se calculan tensiones de soldadura en estos elementos. Si no se especifica ningún elemento en la columna H, las tensiones de soldadura se determinan en todos los elementos a los que está conectada la soldadura. Estos elementos se pueden tomar de la Columna B, "Número de elemento".

La imagen 04 muestra la definición de la soldadura para el ejemplo descrito en este artículo.

La tabla 5.1 Soldaduras muestra las tensiones resultantes τ|| para las soldaduras definidas en la Tabla 1.6 Soldaduras. La imagen 05 muestra las tensiones de soldadura para el ejemplo descrito en este artículo.

Bibliografía

[1] Eurocódigo 3: Diseño de estructuras de acero - Parte 1-8: Diseño de uniones; EN 1993‑1‑8: 2005 + AC: 2009
[2] Petersen, C.: (2013). edición. Wiesbaden: Springer Vieweg.

Autor

Sra. von Bloh proporciona soporte técnico a nuestros clientes y es responsable del desarrollo del programa SHAPE-THIN, así como de las estructuras de acero y aluminio.

Enlaces
Referencias
Descargas


;