52827x
001469
2017-08-17

Verifica delle saldature a cordone d’angolo secondo EN 1993-1-8

Quella a cordone d’angolo è il tipo di saldatura più comune nelle strutture in acciaio. Secondo EN 1993-1-8, 4.3.2.1 (1) [1], le saldature d'angolo possono essere utilizzate per collegare la parte strutturale in cui le facce di fusione formano un angolo compreso tra 60° e 120°.

Lo spessore efficace della saldatura a di una saldatura d'angolo deve essere preso come l'altezza del triangolo più grande (con lati uguali o disuguali) che può essere inscritto all'interno delle facce di fusione e la superficie della saldatura, misurata perpendicolare al lato esterno di questo triangolo; vedi immagine 01.

Resistenza di progetto delle saldature d'angolo

Secondo 1993-1-8 [1] , la resistenza di progetto di un cordone di saldatura è solitamente determinata utilizzando il metodo direzionale o il metodo semplificato. Il metodo direzionale è descritto di seguito.

Si assume una distribuzione uniforme della tensione sulla sezione della saldatura, che porta alle normali tensioni e tensioni di taglio mostrate nell'immagine 02, come segue:

  • σ tensione normale perpendicolare all'asse della saldatura
  • σ|| sforzo normale parallelo all'asse di saldatura
  • τ tensione di taglio (nel piano della superficie della saldatura d'angolo) perpendicolare all'asse della saldatura
  • τ|| tensione di taglio (nel piano della superficie della saldatura d'angolo) parallela all'asse della saldatura

La tensione normale σ|| parallelo all'asse non è considerato quando si verifica la resistenza di progetto della saldatura d'angolo.

La resistenza di progetto della saldatura d'angolo sarà sufficiente se sono soddisfatte le seguenti condizioni:

dove
fu è la tensione ultima nominale della parte più debole unita,
βw è il fattore di correlazione appropriato (vedi EN 1993-1-8, Tabella 4.1)
γM2 è il coefficiente parziale di sicurezza per la resistenza delle saldature.

Esempio

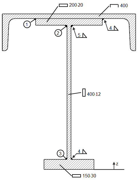
Progetto di una saldatura d'angolo della trave visualizzata nell'immagine 03 da [2].

Materiale: S235, fu = 36,0 kN/cm², βw = 0,8
Forze interne: Vz = 350 kN

baricentro

Momento d'inerzia
Per quanto riguarda il baricentro, il momento di inerzia è:

Momenti statici
Per quanto riguarda il baricentro, i momenti statici delle sezioni trasversali collegate sono calcolate utilizzando le saldature ➀, ➁ e ➂:
Sy, 1 = A1 ∙ (zS, 1 - zS ) = 91,48 ∙ (43,72- 30,88) = 1.175 cm³
Sy, 2 = Sy, 1 + A2 ∙ (zS, 2 - zS ) = 1175 + 40,00 ∙ (44,00 - 30,88) = 1.700 cm³
Sy, 3 = A3 ∙ (zS - zS, 3 ) = 45,00 ∙ (30,88 - 1,50) = 1.322 cm³

Progetto della saldatura

SHAPE-THIN
In SHAPE ‑ THIN, la tensione di taglio (nel piano della superficie della saldatura d'angolo) parallela all'asse di saldatura τ|| può essere calcolato sulle saldature d'angolo e la resistenza può essere progettata. Durante la modellazione, la saldatura deve essere collegata ai bordi di due elementi. Uno di questi elementi può anche essere un elemento fittizio.

Nella colonna H "Elemento continuo" della tabella 1.6 Saldature, è possibile definire gli elementi continui. Su questi elementi non vengono calcolate le tensioni di saldatura. Se nessun elemento è specificato nella colonna H, le tensioni di saldatura sono determinate su tutti gli elementi a cui la saldatura è collegata. Questi elementi possono essere presi dalla colonna B, "Elemento nr."

L'immagine 04 mostra la definizione di saldatura per l'esempio descritto in questo articolo.

La tabella 5.1 Saldature mostra le tensioni risultanti τ|| per le saldature definite nella Tabella 1.6 Saldature. L'immagine 05 mostra le tensioni di saldatura per l'esempio descritto in questo articolo.

Letteratura

[1] Eurocodice 3: Progettazione di strutture in acciaio - Parte 1-8: Verifica di giunti; EN 1993‑1‑8:2005 + AC:2009
[2]Petersen, C. (1982). Stahlbau, 4 ° ed.). Wiesbaden: Springer Vieweg, 2013

Autore

La signora von Bloh fornisce supporto tecnico per i nostri clienti ed è responsabile dello sviluppo del programma SHAPE‑THIN e delle strutture in acciaio e alluminio.

Link
Bibliografia
Download


;