53042x
001469
2017-08-17

Расчет угловых сварных швов по норме EN 1993-1-8

Угловой сварной шов является наиболее распространенным типом сварного шва в стальных строительных конструкциях. По норме EN 1993‑1‑8, 4.3.2.1 (1) [1], можно использовать угловые швы для соединения конструктивных элементов, у которых поверхности проплавления образуют угол от 60° до 120°.

Эффективная толщина сварного шва a, у углового шва должна быть, как правило, принята равной высоте наибольшего треугольника (с равными или неравными катетами), который вписан между гранями проплавления и поверхностью шва, измеренной перпендикулярно внешней стороне этого треугольника, см. рисунок 01.

Несущая способность угловых швов

По 1993‑1‑8 [1] расчетная несущая способность углового шва определяется с помощью метода направления или упрощенного метода. Метод направления усилия описан ниже.

Предполагается, что в сечении шва будет равномерно распределено напряжение, которое приведет к следующим нормальным и касательным напряжениям, показанным на рисунке 02:

  • σ нормальное напряжение, перпендикулярное оси шва
  • σ|| нормальное напряжение, параллельное оси шва
  • τ сдвигающее напряжение (в плоскости поверхности углового шва), перпендикулярное оси шва
  • τ|| сдвигающее напряжение (в плоскости поверхности углового шва), параллельное оси шва

Нормальное напряжение σ||, параллельное оси шва, не учитывается при проверке расчетной несущей способности углового шва.

Несущая способность углового шва будет достаточна при соблюдении следующих условий:

где
fu - номинальный предел прочности при растяжении более слабого соединяемого элемента,
βw - соответствующий коэффициент корреляции (см. EN 1993‑1‑8, таблица 4.1)
γM2 - частный коэффициент надежности для прочности сварных швов.

Пример

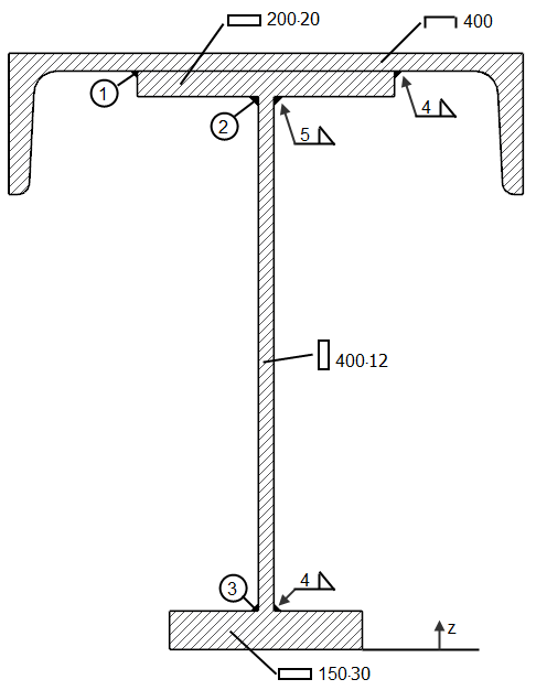
Расчет углового шва балки из литературы [2] показан на рисунке 03.

Материал: S235, fu = 36,0 кН/см², βw = 0,8
Внутренние силы: Vz = 350 кН

Центр тяжести

Момент инерции
Относительно оси центра тяжести момент инерции равен:

Статические моменты
Относительно оси центра тяжести, статические моменты для частей сечений, присоединенных с помощью сварных швов ➀, ➁ и ➂, рассчитываются следующим образом:
Sy,1 = A1 ∙ (zS,1 - zS) = 91,48 ∙ (43,72- 30,88) = 1175 см³
Sy,2 = Sy,1 + A2 ∙ (zS,2 - zS) = 1175 + 40,00 ∙ (44,00 - 30,88) = 1700 см³
Sy,3 = A3 ∙ (zS - zS,3) = 45,00 ∙ (30,88- 1,50) = 1322 см³

Расчет швов

SHAPE-THIN
В программе SHAPE-THIN можно выполнить расчет сдвигающего напряжения (в плоскости углового шва), параллельного оси шва τ||, на угловых швах, а также проверку несущей способности. При моделировании необходимо обратить внимание на то, чтобы сварной шов соединял края двух элементов. Один из этих элементов может быть нулевым.

В столбце H «Непрерывный элемент» таблицы 1.6 Сварные швы можно задать непрерывные элементы. У данных элементов не рассчитываются напряжения в сварных швах. Если в столбце H не указано ни одного элемента, то напряжения в сварных швах рассчитываются у всех элементов, которые соединены сварным швом. Данные элементы указаны в столбце B «Элемент №».

На рисунке 04 показано задание сварного шва для примера, описанного в нашей статье.

В таблице 5.1 Напряжения в швах указаны напряжения τ|| для швов, заданных в таблице 1.6 Сварные швы. На рисунке 05 показаны напряжения в сварных швах для примера нашей статьи.

Литература

[1] Еврокод 3: Расчет стальных конструкций. Часть 1-8: Расчет соединений; EN 1993-1-8:2005 + AC:2009
[2] Petersen, C.: Stahlbau, 4-е издание. Висбаден: Springer Vieweg, 2013

Автор

Г-жа фон Бло оказывает техническую поддержку нашим клиентам и отвечает за разработку программы SHAPE‑THIN, а также стальных и алюминиевых конструкций.

Ссылки
Ссылки
Скачивания


;