9613x
000096
2019-01-28
О

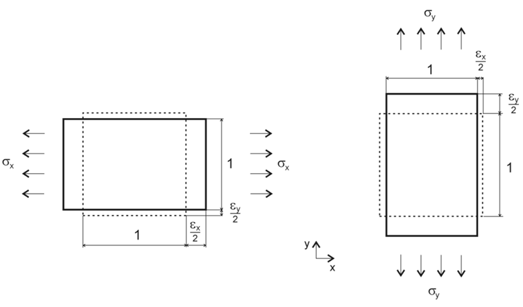
Ортотропия

Ортотропия описывает свойства материала в зависимости от направления. Примеры включают материалы, армированные волокнами, трапециевидные листы, армированный бетон или древесину. Как правило, для ортотропных материалов закон Гука больше не применим.

Параметры материала

Для 2D-оболочечного элемента параметры материала следующие:

  • Ex
Жёсткость в локальном направлении x поверхности
  • Ey
Жёсткость в локальном направлении y поверхности
  • Gxz
Сдвиговая жёсткость в локальном направлении x поверхности
  • Gyz
Сдвиговая жёсткость в локальном направлении y поверхности
  • Gxy
Сдвиговая жёсткость в плоскости диска

Ссылки