9548x
000096
28.01.2019
O

Orhtotropie

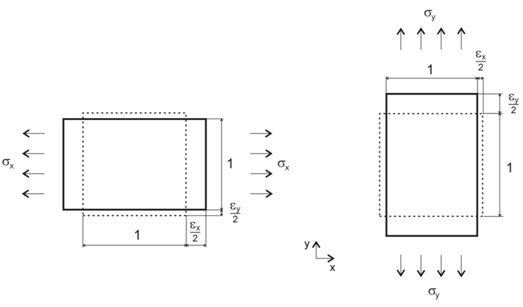
Une orthotropie décrit les propriétés directionnelles d'un matériau. Des exemples incluent les plastiques renforcés de fibres, les tôles trapézoïdales, le béton armé ou le bois. En règle générale, pour les matériaux orthotropes, la loi de Hooke pour les matériaux n'est plus valable.

Paramètres du matériau

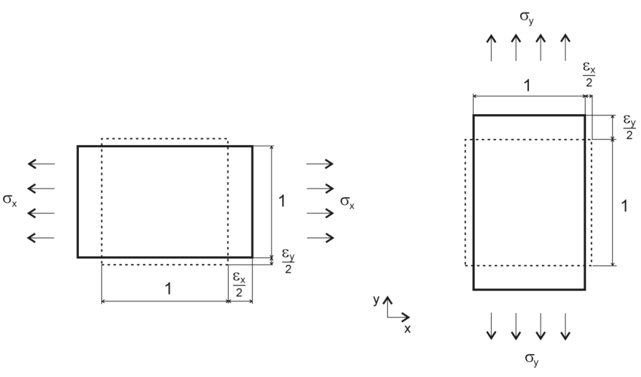
Pour un élément coque 2D, les paramètres du matériau sont les suivants :

  • Ex
Rigidité dans la direction x locale de la surface
  • Ey
Rigidité dans la direction y locale de la surface
  • Gxz
Rigidité au cisaillement dans la direction x locale de la surface
  • Gyz
Rigidité au cisaillement dans la direction y locale de la surface
  • Gxy
Rigidité au cisaillement dans le plan de la plaque


Liens