9662x
000096
2019-01-28
O

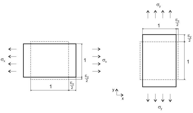
Orthotropy

Orthotropy describes directional material properties. Examples are fiber-reinforced plastics, trapezoidal sheets, reinforced concrete, and timber. As a rule, Hooke's material law is not valid for orthotropic materials anymore.

Material Parameters

For a 2D shell element, the material parameters are as follows:

  • Ex
Stiffness in the local x-direction of the surface
  • Ey
Stiffness in the local y-direction of the surface
  • Gxz
Shear stiffness in the local x-direction of the surface
  • Gyz
Shear stiffness in the local y-direction of the surface
  • Gxy
Shear stiffness in the panel plane

Links