9663x
000096
28-01-2019
O

Ortotropía

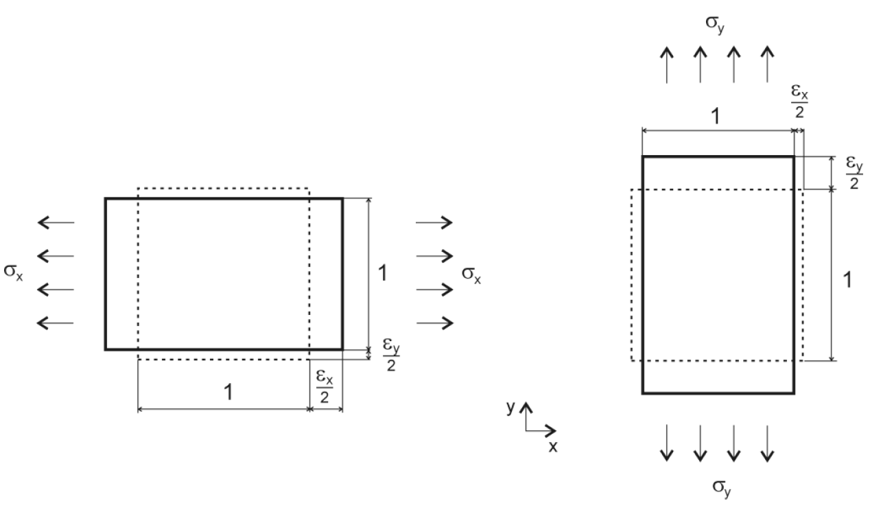
Una ortotropía describe las propiedades dependientes de la dirección de un material. Ejemplos son plásticos reforzados con fibra, láminas trapezoidales, hormigón armado o madera. Por lo general, en materiales ortotrópicos, la ley de Hooke del material ya no es válida.

Parámetros del material

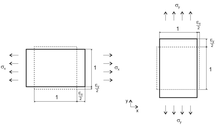
Para un elemento de cáscara 2D, los parámetros del material son como sigue:

  • Ex
Rigidez en la dirección local x de la superficie
  • Ey
Rigidez en la dirección local y de la superficie
  • Gxz
Rigidez al corte en la dirección local x de la superficie
  • Gyz
Rigidez al corte en la dirección local y de la superficie
  • Gxy
Rigidez al corte en el plano de la placa


Enlaces