9665x
000096
2019-01-28
O

Ortotropia

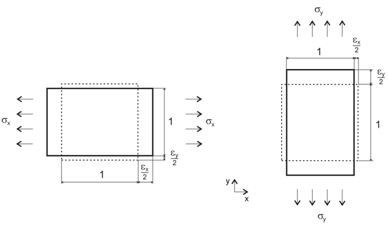
Ortotropia opisuje kierunkowe właściwości materiału. Przykładami są tworzywa sztuczne wzmacniane włóknami, blachy trapezowe, beton zbrojony lub drewno. Z reguły prawo materiałowe Hooke'a nie jest już stosowalne w przypadku materiałów ortotropowych.

Parametry materiałowe

Dla elementu powłokowego 2D parametry materiałowe przedstawiają się następująco:

  • Ex
Sztywność w lokalnym kierunku x powierzchni
  • Ey
Sztywność w lokalnym kierunku y powierzchni
  • Gxz
Sztywność na ścinanie w lokalnym kierunku x powierzchni
  • Gyz
Sztywność na ścinanie w lokalnym kierunku y powierzchni
  • Gxy
Sztywność na ścinanie w płaszczyźnie


Odnośniki